
任天堂が携帯型ゲーム機の特許を申請 - IGN
<以下要約>
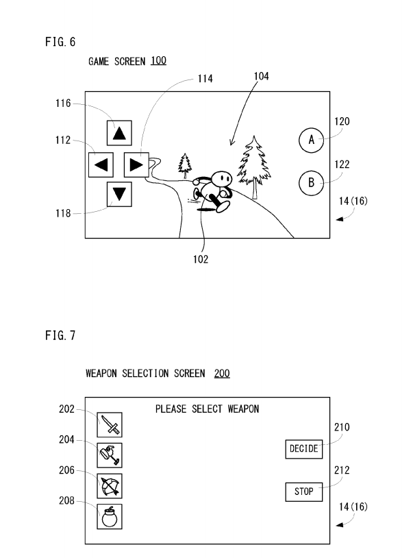
任天堂が新しい携帯型ゲーム機らしき装置の特許を申請した。
TwitterのユーザーZhugeEXさんが発見した米国特許商標庁への申請書類によれば、特許はシングルスクリーンとなんらかの形のタッチインターフェースをもつ“携帯型の情報処理装置”のためのものだ。
この装置には内蔵スピーカーが埋め込まれており、“より強い没入感”を提供するための振動システムもついている。
他にも任天堂の伝統的なA、B、X、Yボタンとサークルパッド、十字キーがついた携帯型ゲーム機の図面もある。
以下、全文を読む
<ネットでの反応>
携帯機をコントローラーにした据え置き機じゃないの?
…でも それってGCの時やってたよね
なんか・・・うん・・・
これがNXだとしたらこれでゼルダとかドラクエ11がちゃんと動くのか・・・??
不穏&不安
こマ?
遂に任天堂の新たなゲーム機の特許が申請されたぞ!!
これが新時代の幕開けだあああ!!NXがやってくるぞおおお!!ありがとう任天堂!おめでとう任天堂!!

凄いぞ任天堂!なんて素晴らしい「携帯」ゲーム機を作っていたんだ!
まるでゲームボーイミクロを思い出させるようじゃないか!これがNXの正体だったんだね!
おめでとう任天堂!!おめでとう!!僕はPS4で楽しく遊んでるお!!

![]() | スプラトゥーン amiibo5種セットB (シオカラーズセット[アオリ/ホタル]・ガール【ライムグリーン】・ボーイ【パープル】・イカ【オレンジ】) (【Amazon.co.jp限定】オリジナルステッカー3種 同梱) 発売日:2016-07-07 メーカー:任天堂 カテゴリ:Video Games セールスランク:6 Amazon.co.jp で詳細を見る |
![]() | Wii U スプラトゥーン セット(amiibo アオリ・ホタル付き)【Amazon.co.jp限定】オリジナルステッカー3種付 発売日:2016-07-07 メーカー:任天堂 カテゴリ:Video Games セールスランク:466 Amazon.co.jp で詳細を見る |
[ ゲーム業界の記事一覧 ]
今週の人気記事
その他おすすめサイト
この記事へのコメント
-
- 1 名前: 名無しオレ的ゲーム速報さん 2016年07月07日 18:07 返信する
- あ
-
- 2 名前: 名無しオレ的ゲーム速報さん 2016年07月07日 18:07 返信する
- くそやん
-
- 3 名前: 名無しオレ的ゲーム速報さん 2016年07月07日 18:08 返信する
- ソニーがすぐパクりそう
-
- 4 名前: 名無しオレ的ゲーム速報さん 2016年07月07日 18:08 返信する
- 神ハードきたーーーー
-
- 5 名前: 名無しオレ的ゲーム速報さん 2016年07月07日 18:08 返信する
- ドラクエ11が動く?何言ってんだ?
-
- 6 名前: 名無しオレ的ゲーム速報さん 2016年07月07日 18:08 返信する
- そんなことよりソフトはどうなん
-
- 7 名前: 名無しオレ的ゲーム速報さん 2016年07月07日 18:08 返信する
- ニンテンドー好きだけど微妙
-
- 8 名前: 名無しオレ的ゲーム速報さん 2016年07月07日 18:09 返信する
- オワタwwwwwwwwwwwwwww
-
- 9 名前: 名無しオレ的ゲーム速報さん 2016年07月07日 18:09 返信する
- スマホの劣化版みたいなんだが?
-
- 10 名前: 名無しオレ的ゲーム速報さん 2016年07月07日 18:09 返信する
- 1DSだろ
-
- 11 名前: 名無しオレ的ゲーム速報さん 2016年07月07日 18:09 返信する
- おめでとう
-
- 12 名前: 名無しオレ的ゲーム速報さん 2016年07月07日 18:09 返信する
- どうなるにせよ、低性能ハードに
-
- 13 名前: 名無しオレ的ゲーム速報さん 2016年07月07日 18:09 返信する
- 凄い産廃感溢れるデザインだな
-
- 14 名前: 世界の爆笑さん 2016年07月07日 18:10 返信する
- 任天堂は馬鹿だよなぁwwwwwwwwwwwwwwwwwwwwwwwwwwwww。爆笑
-
- 15 名前: 名無しオレ的ゲーム速報さん 2016年07月07日 18:10 返信する
- これにて任天堂の敗北は決した。終戦だ
-
- 16 名前: 名無しオレ的ゲーム速報さん 2016年07月07日 18:10 返信する
- 死んだな
-
- 17 名前: 名無しオレ的ゲーム速報さん 2016年07月07日 18:10 返信する
- これが新しいの?
-
- 18 名前: 名無しオレ的ゲーム速報さん 2016年07月07日 18:10 返信する
- くそwwww
-
- 19 名前: 名無しオレ的ゲーム速報さん 2016年07月07日 18:10 返信する
- SONYのVRオワタwwwwwwwwwwwwwwwwwwwwwww
-
- 20 名前: 名無しオレ的ゲーム速報さん 2016年07月07日 18:10 返信する
- 任天堂製のスマホです
-
- 21 名前: 名無しオレ的ゲーム速報さん 2016年07月07日 18:10 返信する
- ごめん何もギミックがないくそやんけ
-
- 22 名前: 名無しオレ的ゲーム速報さん 2016年07月07日 18:11 返信する
-
余計なことをせずに普通の据え置き機を作ったPSを評価するなら
これも同じく評価されるべき 形だけなら理想形だろ
-
- 23 名前: 名無しオレ的ゲーム速報さん 2016年07月07日 18:11 返信する
- ゲームボーイミクロか、いんじゃね
-
- 24 名前: 名無しオレ的ゲーム速報さん 2016年07月07日 18:11 返信する
- AAワロタwwwwww
-
- 25 名前: 名無しオレ的ゲーム速報さん 2016年07月07日 18:11 返信する
- 終了!はい解散!
-
- 26 名前: 名無しオレ的ゲーム速報さん 2016年07月07日 18:12 返信する
- これで政治はきょうさんとうやな
-
- 27 名前: 名無しオレ的ゲーム速報さん 2016年07月07日 18:12 返信する
-
ゴキって何回特許図と実際のデザインは違うって説明しないとわからないんだ?w
毎回違う形が出てきてるけど、疑問に思うことすらしないのかw
-
- 28 名前: 名無しオレ的ゲーム速報さん 2016年07月07日 18:12 返信する
- プレイしずらそう
-
- 29 名前: 名無しオレ的ゲーム速報さん 2016年07月07日 18:12 返信する
-
NXではねーだろ。審査が完了するまで1年〜2年はかかる
NXが出るまでに間に合わない
-
- 30 名前: 名無しオレ的ゲーム速報さん 2016年07月07日 18:13 返信する
- 半分にした3DS…というかゲームボーイミクロをスマホよりにしたデザインか?
-
- 31 名前: 名無しオレ的ゲーム速報さん 2016年07月07日 18:13 返信する
- ごみハード
-
- 32 名前: 名無しオレ的ゲーム速報さん 2016年07月07日 18:13 返信する
-
>>35
お前ホモだろ
-
- 33 名前: 名無しオレ的ゲーム速報さん 2016年07月07日 18:13 返信する
- 喜べ豚
-
- 34 名前: 名無しオレ的ゲーム速報さん 2016年07月07日 18:14 返信する
- ゲームウォッチか?
-
- 35 名前: 名無しオレ的ゲーム速報さん 2016年07月07日 18:14 返信する
- ありがとう。やっと見切れるよ。
-
- 36 名前: 名無しオレ的ゲーム速報さん 2016年07月07日 18:14 返信する
- これスマホにかぶせるスティックとボタン付きのカバーの特許
-
- 37 名前: 名無しオレ的ゲーム速報さん 2016年07月07日 18:14 返信する
-
SONYは時価総額でついに特許数において日本最強のキヤノンを抜き去ったらしい
-
- 38 名前: 名無しオレ的ゲーム速報さん 2016年07月07日 18:14 返信する
- 業界最下位何してんの
-
- 39 名前: 名無しオレ的ゲーム速報さん 2016年07月07日 18:15 返信する
-
>>29
いつからNXが来年でると
錯覚してたの?
-
- 40 名前: 久保田武蔵 2016年07月07日 18:15 返信する
-
おおおおおおおキターーーー!!!!!!!!
任天堂の時代が来る!!!!!!!!来るぞおおおおおおおおお!!!!!!!!
-
- 41 名前: 名無しオレ的ゲーム速報さん 2016年07月07日 18:15 返信する
- てか前のやつらはどうなったんだよ
-
- 42 名前: 名無しオレ的ゲーム速報さん 2016年07月07日 18:15 返信する
-
>>10
D・Sで・す・ら・な・い
-
- 43 名前: 名無しオレ的ゲーム速報さん 2016年07月07日 18:16 返信する
- ここへきて新型のゲームウォッチを出すつもりなのか?
-
- 44 名前: コイキング 2016年07月07日 18:16 返信する
-
>>14
は?任天堂の勝利は決まったんだよ
名無しがでしゃばるな
-
- 45 名前: 名無しオレ的ゲーム速報さん 2016年07月07日 18:17 返信する
- ぷーくすくす
-
- 46 名前: 名無しオレ的ゲーム速報さん 2016年07月07日 18:17 返信する
-
>>39
いや来年とコメントあったろ
-
- 47 名前: 名無しオレ的ゲーム速報さん 2016年07月07日 18:18 返信する
- ゴミやんけ
-
- 48 名前: 名無しオレ的ゲーム速報さん 2016年07月07日 18:18 返信する
- ほんとに泣きそうになった
-
- 49 名前: 名無しオレ的ゲーム速報さん 2016年07月07日 18:18 返信する
- 家電によくあるスマホでも操作できるってやつじゃねーの
-
- 50 名前: 名無しオレ的ゲーム速報さん 2016年07月07日 18:18 返信する
- ゲームボーイ2でいいよ、もう。
-
- 51 名前: 名無しオレ的ゲーム速報さん 2016年07月07日 18:18 返信する
-
特許申請で製品版のデザインとは似せないのは当然だが
搭載されている要素は同じじゃないといけない
NXかどうかは知らんが妙なギミック路線を捨てたことは評価できる
-
- 52 名前: 名無しオレ的ゲーム速報さん 2016年07月07日 18:18 返信する
- スマホでよくね
-
- 53 名前: コイキング 2016年07月07日 18:19 返信する
-
>>44
俺の偽物消えろや
-
- 54 名前: 名無しオレ的ゲーム速報さん 2016年07月07日 18:19 返信する
-
これでTV出力して据置にもなるってオチだろ
アホか
-
- 55 名前: 名無しオレ的ゲーム速報さん 2016年07月07日 18:20 返信する
- そういや任天堂はNXが据置ハードだとは波っきり公言はしていなかったな
-
- 56 名前: 名無しオレ的ゲーム速報さん 2016年07月07日 18:21 返信する
- バカなの?任天堂
-
- 57 名前: 名無しオレ的ゲーム速報さん 2016年07月07日 18:21 返信する
-
劣化スマホか
公式発言どうりだと
かなりのポンコツ
-
- 58 名前: 名無しオレ的ゲーム速報さん 2016年07月07日 18:21 返信する
- (´・ω・`) ・・・任天堂は閉店しました。
-
- 59 名前: 名無しオレ的ゲーム速報さん 2016年07月07日 18:22 返信する
- 大学生が考えついた事か何か? え? 任天堂?
-
- 60 名前: 名無しオレ的ゲーム速報さん 2016年07月07日 18:22 返信する
- すごい高そう
-
- 61 名前: 名無しオレ的ゲーム速報さん 2016年07月07日 18:22 返信する
- 自分草いいですか
-
- 62 名前: コイキング 2016年07月07日 18:22 返信する
-
>>53
お前が偽物だろ?
消えろ
-
- 63 名前: 名無しオレ的ゲーム速報さん 2016年07月07日 18:22 返信する
-
インターフェイスの特許なのに
デザインガ―してるSおるなw
-
- 64 名前: 名無しオレ的ゲーム速報さん 2016年07月07日 18:22 返信する
- マジレスするとこれは任天堂スマホ
-
- 65 名前: 名無しオレ的ゲーム速報さん 2016年07月07日 18:22 返信する
- やったぜ。
-
- 66 名前: 名無しオレ的ゲーム速報さん 2016年07月07日 18:22 返信する
- ラグに次ぐラグ
-
- 67 名前: 名無しオレ的ゲーム速報さん 2016年07月07日 18:23 返信する
- うんこかと思った…
-
- 68 名前: 名無しオレ的ゲーム速報さん 2016年07月07日 18:23 返信する
-
ギミックはTV出力で本体をコントローラーにして
単体でも携帯ハードとしてプレイできるのか
性能はゴミカス確定だがインパクトはあるかな
-
- 69 名前: 名無しオレ的ゲーム速報さん 2016年07月07日 18:23 返信する
- ダミー特許だろ
-
- 70 名前: 名無しオレ的ゲーム速報さん 2016年07月07日 18:23 返信する
- 携帯機でありながらPS4を超えるスペック
-
- 71 名前: 名無しオレ的ゲーム速報さん 2016年07月07日 18:23 返信する
- 閉店ガラガラ
-
- 72 名前: 名無しオレ的ゲーム速報さん 2016年07月07日 18:23 返信する
- ゲームウォッチじゃねーかwww
-
- 73 名前: 名無しオレ的ゲーム速報さん 2016年07月07日 18:23 返信する
- 裸眼VRに震えるがよい
-
- 74 名前: 名無しオレ的ゲーム速報さん 2016年07月07日 18:23 返信する
-
(\ ̄ ̄\
\(´・ω・`)
 ̄ ̄ ̄
|| |
バンザイ サイキョー2GB トウイツハード ワッショイワッショイ
∧_∧ ∧_∧ ∧_∧ ∧_∧
(^(,, ´∀`)) ・∀・)(ヽ )')((・∀・ /')
ヽ /ヽ ノ ヽ ノ ノ ノ
ノ r ヽ / | / O | ( -、 ヽ
(_,ハ_,),_,/´i,_,ノ (,_,/´i,_,ノ し' ヽ,_,)
-
- 75 名前: コイキング 2016年07月07日 18:23 返信する
-
>>62
君が偽物だろ
いい加減にしてくれ
-
- 76 名前: 名無しオレ的ゲーム速報さん 2016年07月07日 18:24 返信する
-
∧,,∧ ∧,,∧
∧∧ (・|l |l ll ´・)∧∧
(ω・` ) |i l |i Uノ( ´・ω)
| U (\ ̄ ̄\ (U ノ
u-Σ \(´・ω・`) (u
⌒ヽ/V⌒v、/⌒ ビダァァァン!!
(・ω・`) (´・ω・)
(l U) (U ノ
`u-u'. `u-u'
___
/ /)
(´;ω;`)/
-
- 77 名前: 名無しオレ的ゲーム速報さん 2016年07月07日 18:24 返信する
- これで感圧式だったら草不可避ですわ
-
- 78 名前: 名無しオレ的ゲーム速報さん 2016年07月07日 18:24 返信する
- みんなこれ本気信じてるの?wwwwwwwwwww
-
- 79 名前: 名無しオレ的ゲーム速報さん 2016年07月07日 18:24 返信する
- まぁ冗談はこれぐらいにしてー本題いこうぜ
-
- 80 名前: 名無しオレ的ゲーム速報さん 2016年07月07日 18:24 返信する
- お前らこれ欲しいの?
-
- 81 名前: 名無しオレ的ゲーム速報さん 2016年07月07日 18:25 返信する
-
任天堂がターゲットにしてるのはスマホ層だから
むしろ今のゲームユーザーやサードは全て切り捨てるつもりなんだろ
-
- 82 名前: 名無しオレ的ゲーム速報さん 2016年07月07日 18:25 返信する
- ぶーちゃん息しろー
-
- 83 名前: 名無しオレ的ゲーム速報さん 2016年07月07日 18:25 返信する
- これが他社がパクる可能性のあるNXですかw
-
- 84 名前: 名無しオレ的ゲーム速報さん 2016年07月07日 18:25 返信する
-
>>78
あっ「みんなこれ本気で信じてるの?」だった
-
- 85 名前: 名無しオレ的ゲーム速報さん 2016年07月07日 18:25 返信する
- PS4買ってこよーっと
-
- 86 名前: 名無しオレ的ゲーム速報さん 2016年07月07日 18:25 返信する
-
ついに来るのか!
1DS!
-
- 87 名前: 名無しオレ的ゲーム速報さん 2016年07月07日 18:26 返信する
- 終わった
-
- 88 名前: 名無しオレ的ゲーム速報さん 2016年07月07日 18:26 返信する
- 任天堂ハードは 子供だましハードだから これでいいのだ!
-
- 89 名前: コイキング 2016年07月07日 18:26 返信する
-
>>75
いい加減にして欲しいのは俺の方
死ね
-
- 90 名前: 名無しオレ的ゲーム速報さん 2016年07月07日 18:27 返信する
-
あーあ、これでパクられるは
任天堂オワタ
-
- 91 名前: 名無しオレ的ゲーム速報さん 2016年07月07日 18:27 返信する
- ネオジオXみたいだな
-
- 92 名前: 名無しオレ的ゲーム速報さん 2016年07月07日 18:27 返信する
-
“より強い没入感”を提供するための振動システムもついている
ソニーが前に、携帯ゲーム機の特許でゲームプレイに応じた負荷を操作部に与えることにより臨場感を得られるゲームを提供できるとかあったけど
任天堂対抗しようとして出してきたのか
-
- 93 名前: 名無しオレ的ゲーム速報さん 2016年07月07日 18:28 返信する
- DS(上)と、DS(下)
-
- 94 名前: 名無しオレ的ゲーム速報さん 2016年07月07日 18:28 返信する
- ゴキがへきんでるなwwwwwwwwwwww
-
- 95 名前: 名無しオレ的ゲーム速報さん 2016年07月07日 18:29 返信する
-
>>94
/\
/  ̄ / \ ̄ヽ人人人人人
/ / \ ヽ あ!!
/二二二______二二Y^Y^Y^Y
| / \ l
| _∠二i、 ,i二ゝ、
| ノ─( (・) )-( (・))-l ノl人人人人人人人人人人人人
l (ヽイ〃  ̄ つ  ̄ `l_,/
ヽ(__i __,、__ノ |_) それひさしぶりに見たよ!?
ヽl /___/ //
ゝ、 ____ノ /Y^Y^Y^Y^Y^Y^Y^Y^Y^Y^Y^Y^Y^Y^
// \ ___ノ\
-
- 96 名前: 名無しオレ的ゲーム速報さん 2016年07月07日 18:29 返信する
- 任天堂支離滅裂発狂
-
- 97 名前: 名無しオレ的ゲーム速報さん 2016年07月07日 18:29 返信する
- ゴキよ、震えて眠れ
-
- 98 名前: 名無しオレ的ゲーム速報さん 2016年07月07日 18:30 返信する
-
>>75
横だがこれはお前が悪いわwwww
-
- 99 名前: 名無しオレ的ゲーム速報さん 2016年07月07日 18:30 返信する
-
PS3 vs Wii vs 箱
PS4 vs WiiU vs 箱一
PS4.5 vs 箱S
PS5 vs NX vs 蠍
次世代機が前世代機に勝つのは当たり前
しかしNXは公式でPS4以下のポンコツスペックが確定している
PS5が出るまでは蠍が一番のスペックになるだろう
-
- 100 名前: 名無しオレ的ゲーム速報さん 2016年07月07日 18:30 返信する
-
WiiUの次だから当然性能が上がるという確証なんか無い
3dsにゼノブレイドをダウングレード移植したんだし
当然のようにWiiU版に劣る新作ゼルダ移植版をしれっと出してくる事も十分ある
-
- 101 名前: 名無しオレ的ゲーム速報さん 2016年07月07日 18:31 返信する
- DS半分にして売るの?
-
- 102 名前: 名無しオレ的ゲーム速報さん 2016年07月07日 18:31 返信する
-
据置機から撤退か・・・
-
- 103 名前: コイキング 2016年07月07日 18:33 返信する
-
>>89
いい加減にしろや偽物
死ぬのはてめーなんだよカス
-
- 104 名前: 名無しオレ的ゲーム速報さん 2016年07月07日 18:33 返信する
- 二画面ないとポケモン出来ないじゃん
-
- 105 名前: 名無しオレ的ゲーム速報さん 2016年07月07日 18:33 返信する
-
ほら!
この程度でしょ!
もう任天堂は終わったw
-
- 106 名前: 名無しオレ的ゲーム速報さん 2016年07月07日 18:33 返信する
- 始まる前からオワコン
-
- 107 名前: 名無しオレ的ゲーム速報さん 2016年07月07日 18:34 返信する
-
みんなの予想通り
・アンドロイドOS(個人情報はブッコ抜かれるよ)
・子供騙しのスペック
・劣化スマホでTVに出力出来る
・スマホゲーが動くからソフトいっぱいあるよ
コレなんじゃね?
-
- 108 名前: 名無しオレ的ゲーム速報さん 2016年07月07日 18:34 返信する
-
任天堂が全力を出してこれ、なんだよな・・・・
悲しすぎる
-
- 109 名前: 名無しオレ的ゲーム速報さん 2016年07月07日 18:34 返信する
-
NXが出たらWiiUと3DSが同時に死ぬ
まさに妙手ってやつだわ
しかも統一機で大勝利
-
- 110 名前: 名無しオレ的ゲーム速報さん 2016年07月07日 18:35 返信する
- そんなことより任天堂もVR作ろう
-
- 111 名前: 名無しオレ的ゲーム速報さん 2016年07月07日 18:35 返信する
- まぁゼルダやるためにどんな糞みたいなハードでも買うけどな
-
- 112 名前: 名無しオレ的ゲーム速報さん 2016年07月07日 18:35 返信する
- まぁチョニーの殺人ゲーやるよりはマシかな
-
- 113 名前: 名無しオレ的ゲーム速報さん 2016年07月07日 18:35 返信する
-
これのどこに喜ぶ要素があるんだ
-
- 114 名前: 名無しオレ的ゲーム速報さん 2016年07月07日 18:36 返信する
- まぁゼルダやるためにどんな糞みたいなハードでも買うけどな
-
- 115 名前: 名無しオレ的ゲーム速報さん 2016年07月07日 18:37 返信する
- まずNXってなんだよN(任天堂)X(クソ)?
-
- 116 名前: 名無しオレ的ゲーム速報さん 2016年07月07日 18:37 返信する
- 買ったらみんなから馬鹿にされそうだな
-
- 117 名前: 名無しオレ的ゲーム速報さん 2016年07月07日 18:37 返信する
- 子供がスマホを持ってる気分になれるゲームって事でしょ
-
- 118 名前: 名無しオレ的ゲーム速報さん 2016年07月07日 18:39 返信する
-
>>116
あいつのスマホ見てよ〜
NXだよ
ダセーwww
-
- 119 名前: 名無しオレ的ゲーム速報さん 2016年07月07日 18:39 返信する
- 結局NEW3dsってなんだったんですか?専用ソフトがでるってきいたからかったのに。
-
- 120 名前: 名無しオレ的ゲーム速報さん 2016年07月07日 18:39 返信する
- 持ちにくそう
-
- 121 名前: 名無しオレ的ゲーム速報さん 2016年07月07日 18:39 返信する
- 出てくる時にはいい感じの見た目なんだろ
-
- 122 名前: 名無しオレ的ゲーム速報さん 2016年07月07日 18:40 返信する
-
まあ普通に二画面ある意味って無いですもんね…
でかいディスプレイが一つある方が汎用性高い
-
- 123 名前: コイキング 2016年07月07日 18:40 返信する
-
>>103
懲りないな本当
成り済ましとか人間のゴミだろ
-
- 124 名前: 名無しオレ的ゲーム速報さん 2016年07月07日 18:41 返信する
- 右スティックは別売りイワッチメント?
-
- 125 名前: 名無しオレ的ゲーム速報さん 2016年07月07日 18:41 返信する
- あーこれはvitaのパクリだわ
-
- 126 名前: 名無しオレ的ゲーム速報さん 2016年07月07日 18:42 返信する
- ふるそう
-
- 127 名前: 名無しオレ的ゲーム速報さん 2016年07月07日 18:42 返信する
- これに敗北するソニーとMSは屈辱だもんなぁwww
-
- 128 名前: 名無しオレ的ゲーム速報さん 2016年07月07日 18:42 返信する
-
>>114
このままじゃNX版がWiiUより下位マルチって流れになりそうでこわいわ
-
- 129 名前: 名無しオレ的ゲーム速報さん 2016年07月07日 18:43 返信する
- 技術力0の任天堂
-
- 130 名前: 名無しオレ的ゲーム速報さん 2016年07月07日 18:43 返信する
- 俺、NX2つ買ったら被ってVRにするんだ・・・
-
- 131 名前: 名無しオレ的ゲーム速報さん 2016年07月07日 18:44 返信する
- なりすましはほんとうざいからなぁ
-
- 132 名前: 名無しオレ的ゲーム速報さん 2016年07月07日 18:44 返信する
-
出力の付いたタブコンやんけ!
子供には大きすぎるんだよなぁ・・・
持ち歩くサイズにしたら画面小さすぎるし
-
- 133 名前: 名無しオレ的ゲーム速報さん 2016年07月07日 18:44 返信する
-
乳.首ボタンが無くなり
New3DSより劣化www
-
- 134 名前: 名無しオレ的ゲーム速報さん 2016年07月07日 18:45 返信する
- 今日の朝IGNチャンネルで見たわ
-
- 135 名前: 名無しオレ的ゲーム速報さん 2016年07月07日 18:45 返信する
- HATIMAでみた
-
- 136 名前: 名無しオレ的ゲーム速報さん 2016年07月07日 18:45 返信する
- 据置から完全撤退確定か
-
- 137 名前: 名無しオレ的ゲーム速報さん 2016年07月07日 18:45 返信する
-
>>103
アプリからだとID丸見えなんだよね
自演かはあえて言わんがやめとけ
-
- 138 名前: 名無しオレ的ゲーム速報さん 2016年07月07日 18:46 返信する
-
>>103
偽物め
-
- 139 名前: 名無しオレ的ゲーム速報さん 2016年07月07日 18:46 返信する
-
>>127
/  ̄ ̄ ̄ V ̄ ̄ ̄ヽ人人人人人
/ ヽ え!!
/ 人 ヽY^Y^Y^Y
| / \ l
| _∠二i、 ,i二ゝ、
| ノ─( (・) )-( (・))-l ノl人人人人人人人人人人人人人
l (ヽイ〃  ̄ つ  ̄ `l_,/
ヽ(__i __,、__ノ |_) 今日も絵空事を真実みたく書き込んじゃうの!?
ヽl /___/ //
ゝ、 ____ノ /Y^Y^Y^Y^Y^Y^Y^Y^Y^^Y^Y^Y^Y^Y^
// \ ___ノ\
-
- 140 名前: 名無しオレ的ゲーム速報さん 2016年07月07日 18:46 返信する
-
NXは低性能確定!
-
- 141 名前: 名無しオレ的ゲーム速報さん 2016年07月07日 18:48 返信する
-
特許取ったからって製品化するとは限らないぞ
事業とあんまり関係無い特許のアイディアを社員に出させる会社もあるからな
-
- 142 名前: 名無しオレ的ゲーム速報さん 2016年07月07日 18:49 返信する
-
>>127
海外なんか売れねえだろうなぁ
携帯機とかもう駄目だし
-
- 143 名前: 名無しオレ的ゲーム速報さん 2016年07月07日 18:49 返信する
-
>>127
早く、「技術だのなんだの無駄な努力乙!」ってバカにしまくりてぇwww
-
- 144 名前: 名無しオレ的ゲーム速報さん 2016年07月07日 18:50 返信する
- wiiuの失敗から何も学んでいない…
-
- 145 名前: 名無しオレ的ゲーム速報さん 2016年07月07日 18:50 返信する
-
/ ̄ ̄ ̄~~ ̄ ̄\
ノ ヽ
ノ ノヽ ヽ
| _,,ノ \_ l
| (( へ、 ノヽ )) l
| ノノ =・= ) (=・= ( ノ
l iヽイ ⌒ つ⌒ | ) WiiUは高くなってしまった
ヽ`リ /_____ゝ| 今後はハイスペック競争ではなく
) | \\\l l l l l 9ノ/l 誰もが手に取りやすい価格で他とは違う
川\ \\ ̄ ̄ ̄ノ/ 新しい技術を楽しめるハードで勝負した(ry
ノヽ人_人_人_人_人_人_人_人_人_人_人_人_人_人_人_人_人
) /任_豚\ (
) .|ノ-O-O-ヽ| はい、NXは超高性能路線確定!! (
< 6| . : )'e'( : . |9 PS4脂肪wwwwwwwwwwwww >
) `‐-=-‐ ' (
⌒V⌒V⌒V⌒V⌒V⌒V⌒V⌒V⌒V⌒V⌒V⌒V⌒V⌒V⌒
-
- 146 名前: 名無しオレ的ゲーム速報さん 2016年07月07日 18:51 返信する
- 失敗して、社運がかかって、新ハードがこれなのかよ・・・・・
-
- 147 名前: 名無しオレ的ゲーム速報さん 2016年07月07日 18:51 返信する
-
>>109
NXでるからな。新世代ハードのまえに旧世代ハードを終わらせるって、普通のことじゃないか。
いったい、なんの問題あんの。
たまには外に出てみろ。子供たちはみんなwiiUを持って走り回ってる。
最後にはPS4に負けたけど、それなりに時代を作った。
一時はTVゲームって言葉のかわりにPS3を見ていつまでwiiUやってるのって言うお母さん方もいて苦笑いしたもんだ。
始まったものはいつか終わる。
たしかにまだ戦えるハードで、これだけの勢いを持っているうちに切り捨てるのは勿体無いけど、まあNXに期待しようじゃないの。
名機だからって永遠に続いてほしいいなんていうのは、ユーザー側の無茶な要求であってさ。
勝ち逃げって言葉は無茶な言いがかりというか、終わるべきときに終わるだけ。
なんでも文句つければいいってもんじゃないし、自分の考えだけが正しいと思うべきじゃないよ。
すぐ他人を批判してお前はダメだとか馬鹿だとか、そういうこと言わないで客観的に見るクセをつけたほうがいい。
『人は一代、名は末代。天晴武士の心かな』と加藤清正は言ってる。ハードは5年くらいで新しいの出せって意味だ。
-
- 148 名前: 名無しオレ的ゲーム速報さん 2016年07月07日 18:52 返信する
- もう終わってる会社って認識でいいのか?
-
- 149 名前: 名無しオレ的ゲーム速報さん 2016年07月07日 18:52 返信する
-
>>147
ハード寿命短すぎるだろ
-
- 150 名前: 名無しオレ的ゲーム速報さん 2016年07月07日 18:52 返信する
-
打倒ソニー(無理ゲー)
↓
打倒SCE(無理ゲー)
↓
打倒PS4(無理ゲー)
↓
打倒PSN(今ココ、NX出てもまず無理ゲー)
-
- 151 名前: 名無しオレ的ゲーム速報さん 2016年07月07日 18:54 返信する
-
これを本気で喜べるのが豚脳
-
- 152 名前: 名無しオレ的ゲーム速報さん 2016年07月07日 18:55 返信する
- おー一画面来たか しかし3D機能とか振動とかいらんからな
-
- 153 名前: 名無しオレ的ゲーム速報さん 2016年07月07日 18:55 返信する
-
これを本気で喜べるのがjin豚脳
-
- 154 名前: 名無しオレ的ゲーム速報さん 2016年07月07日 18:55 返信する
-
糞ハードでも神ハードでもソフトが任天堂ばっかり
だったらWiiUと変わらないんじゃない?
-
- 155 名前: 名無しオレ的ゲーム速報さん 2016年07月07日 18:56 返信する
-
PS4以上性能じゃなかったの豚?
-
- 156 名前: 名無しオレ的ゲーム速報さん 2016年07月07日 18:59 返信する
-
ゲームウオッチかよwww
-
- 157 名前: 名無しオレ的ゲーム速報さん 2016年07月07日 18:59 返信する
-
3DSの上画面 : TV画面
3DSの下画面 : この携帯機
って感じで使うんじゃねーの?
普段はVitaみたいに普通の携帯機として使って、TV出力するとWiiUのように二画面になる
つまり、任天堂は何も学んでいないと言う事だ
-
- 158 名前: 名無しオレ的ゲーム速報さん 2016年07月07日 19:00 返信する
-
【2017年】
/ ̄ ̄ ̄ ̄ ̄ ̄ ̄ ̄ ̄ ̄ ̄ ̄ ̄ ̄
< 耐え難きを耐え、忍び難きを忍び
\______________
/ 女壬_女辰 \
i ─ ─ ::;:::;:::;i
.| ィ●ァ___rィ●ァ \::::::::;|
| ̄ヽ_ノ ヽ_ノ ̄ :::::::;;|
| (.o o,) ::;:;:;;⌒i
| ・ i ∠ニゝ i. ・ ::;;;;;;、_ノ
| ・ノ ー \・ ::;;;;;;;; ;|
ヽ;;:: ── __ ノ
/ ── \
|;;:: ::;;|
-
- 159 名前: 名無しオレ的ゲーム速報さん 2016年07月07日 19:00 返信する
-
ただのスマホやん…
これで特許とかありえるん?
-
- 160 名前: 名無しオレ的ゲーム速報さん 2016年07月07日 19:01 返信する
- マジだったら任天堂に未来は無いな
-
- 161 名前: 名無しオレ的ゲーム速報さん 2016年07月07日 19:01 返信する
-
おお、これは課金するのに便利だな!
モバゲーハードNX 期待してるぞ!
-
- 162 名前: 名無しオレ的ゲーム速報さん 2016年07月07日 19:02 返信する
-
>>103
偽物だろ?
-
- 163 名前: 名無しオレ的ゲーム速報さん 2016年07月07日 19:03 返信する
-
ぜんぜん伸びねーな
みんなNXに飽きてきた
出る前からw
-
- 164 名前: 名無しオレ的ゲーム速報さん 2016年07月07日 19:03 返信する
-
今の任天堂の「楽して儲ける」ってスタンスではコレしかないんだよね
もうソフト作れないから泥アプリを出してもらって手数料取るってのが手っ取り早い
-
- 165 名前: 名無しオレ的ゲーム速報さん 2016年07月07日 19:04 返信する
- この画像ってかなり前に見た気がするのだが
-
- 166 名前: 名無しオレ的ゲーム速報さん 2016年07月07日 19:05 返信する
-
ニシ君なんで「これはNXじゃない」って否定しないの
まさか・・・
-
- 167 名前: 名無しオレ的ゲーム速報さん 2016年07月07日 19:06 返信する
-
物理ボタンが無いとかありえないです
ただ任天堂がスマホに物理ボタンが無いことへの完璧な解決策を提示できるなら
いよいよ携帯機はスマホ1強になるのかな
-
- 168 名前: 名無しオレ的ゲーム速報さん 2016年07月07日 19:08 返信する
- 手の関節が痛くなりそう
-
- 169 名前: 名無しオレ的ゲーム速報さん 2016年07月07日 19:08 返信する
-
ぶーちゃんこんなの持ち上げようとしてたのかよw
ひどすぎて逆に哀れになってきたしw
-
- 170 名前: 名無しオレ的ゲーム速報さん 2016年07月07日 19:12 返信する
-
>>5
ちゃんとNXでも出すって言ってたぞ情弱
-
- 171 名前: 名無しオレ的ゲーム速報さん 2016年07月07日 19:13 返信する
-
3DSのハードル上げ発表の時しょぼい3DSに落胆し豚は
きっと違う機種の高スペックのスーパーGBAがあるんだとか言ってたの思い出したwww
-
- 172 名前: 名無しオレ的ゲーム速報さん 2016年07月07日 19:14 返信する
-
>>170
出す・・・検討でしょ?w
-
- 173 名前: 名無しオレ的ゲーム速報さん 2016年07月07日 19:14 返信する
- 中国辺りのパチもんゲーム機からデザインパクったん任天?
-
- 174 名前: 名無しオレ的ゲーム速報さん 2016年07月07日 19:17 返信する
- アホくさやめたら?このブログ?
-
- 175 名前: 名無しオレ的ゲーム速報さん 2016年07月07日 19:17 返信する
-
コレは時代遅れのゴミw
-
- 176 名前: 名無しオレ的ゲーム速報さん 2016年07月07日 19:18 返信する
-
すれ違い通信の機能かそれを超えるものがあるなら普通に流行るだろう
3DSの真の強みは裸眼立体視じゃなくすれ違い通信だったからな
-
- 177 名前: 名無しオレ的ゲーム速報さん 2016年07月07日 19:19 返信する
-
>>174
もしかして現実見て効いてる?
-
- 178 名前: 名無しオレ的ゲーム速報さん 2016年07月07日 19:20 返信する
-
>>175
時代遅れってのがしっくりきたわ
-
- 179 名前: 名無しオレ的ゲーム速報さん 2016年07月07日 19:21 返信する
-
そうだな。流行るのが任天堂なんですよ。
GKは記事の画像をよく見ておいたほうがいい。お前たちが打ち崩さなきゃならない敵の姿だ。
-
- 180 名前: 名無しオレ的ゲーム速報さん 2016年07月07日 19:22 返信する
-
えっ
きちがい通信?
-
- 181 名前: 名無しオレ的ゲーム速報さん 2016年07月07日 19:22 返信する
- こんなパチモンゲーム機みたいなの見たことある気がする
-
- 182 名前: 名無しオレ的ゲーム速報さん 2016年07月07日 19:23 返信する
-
ゴキって何回特許図と実際のデザインは違うって説明しないとわからないんだ?w
毎回違う形が出てきてるけど、疑問に思うことすらしないのかw
-
- 183 名前: 名無しオレ的ゲーム速報さん 2016年07月07日 19:24 返信する
- 画面ちっさ、デジカメかと思ったわw
-
- 184 名前: 名無しオレ的ゲーム速報さん 2016年07月07日 19:24 返信する
-
>>182
低性能は変わらんwwwwwwwwwwwwwww
-
- 185 名前: 名無しオレ的ゲーム速報さん 2016年07月07日 19:24 返信する
- 文に書かれてるけど、内蔵スピーカーが没入感に良さそう
-
- 186 名前: 名無しオレ的ゲーム速報さん 2016年07月07日 19:25 返信する
- Vitaパクって劣化させたみたいなハードだな
-
- 187 名前: 名無しオレ的ゲーム速報さん 2016年07月07日 19:27 返信する
-
低性能で安っぽいなぁ
-
- 188 名前: 名無しオレ的ゲーム速報さん 2016年07月07日 19:29 返信する
-
これがNXならNX版ドラクエ11は3DSの移植になるね
ブーちゃんドットのドラクエ遊べて良かったね
-
- 189 名前: 名無しオレ的ゲーム速報さん 2016年07月07日 19:30 返信する
- 最後の画像はフェイスカバーみたいな物?
-
- 190 名前: 名無しオレ的ゲーム速報さん 2016年07月07日 19:32 返信する
- 劣化スマホ
-
- 191 名前: 名無しオレ的ゲーム速報さん 2016年07月07日 19:33 返信する
-
2画面は捨てるんか
マリカーとか世界樹だと2画面便利だったのにな
-
- 192 名前: 名無しオレ的ゲーム速報さん 2016年07月07日 19:33 返信する
- 子供向け玩具で遊んでなさいブ〜
-
- 193 名前: 名無しオレ的ゲーム速報さん 2016年07月07日 19:35 返信する
-
>>191
別売りになるんだよ。アンロック制だよ2倍の売上だよw
-
- 194 名前: ヒンバス 2016年07月07日 19:35 返信する
-
>>103
そこまでだ
-
- 195 名前: 名無しオレ的ゲーム速報さん 2016年07月07日 19:35 返信する
-
NXって、Androidをベースに開発されてるんじゃないか?
それなら据置型でも携帯型でも開発は容易だろうし、
携帯機にMiniHDMI端子付ければWiiUみたいにコントローラとしても使えるし
-
- 196 名前: 名無しオレ的ゲーム速報さん 2016年07月07日 19:35 返信する
- 期待してたのにまさかの携帯機・・・
-
- 197 名前: 名無しオレ的ゲーム速報さん 2016年07月07日 19:36 返信する
- NEOGEOX、略してNXやな
-
- 198 名前: 名無しオレ的ゲーム速報さん 2016年07月07日 19:37 返信する
-
今時アナログスティックが二つないとか…
サードからソフト供給してもらう気あんのかコレ
-
- 199 名前: 名無しオレ的ゲーム速報さん 2016年07月07日 19:38 返信する
- 2画面やめてくれればなんでもいい
-
- 200 名前: 名無しオレ的ゲーム速報さん 2016年07月07日 19:39 返信する
- モバゲー専用ハードサムスンNeXus
-
- 201 名前: 名無しオレ的ゲーム速報さん 2016年07月07日 19:39 返信する
-
>>198
スティックは個人的にはどうでもいいけど
LRボタンさえも無いように見えるのが気になる
-
- 202 名前: 名無しオレ的ゲーム速報さん 2016年07月07日 19:40 返信する
- 3DSから退化してるような・・
-
- 203 名前: 名無しオレ的ゲーム速報さん 2016年07月07日 19:42 返信する
-
うん…
まぁ…
ねっ…
色々あるよ…
多分…
-
- 204 名前: 名無しオレ的ゲーム速報さん 2016年07月07日 19:42 返信する
- Androidが動く,スマホ形状,ハコスコでVRまでは読めてきた
-
- 205 名前: 名無しオレ的ゲーム速報さん 2016年07月07日 19:43 返信する
- 右のアナコンが付いてないのが気になる
-
- 206 名前: 名無しオレ的ゲーム速報さん 2016年07月07日 19:43 返信する
-
>>201
いや、好みとかそういう問題じゃなくて
大抵のゲームは視点移動に右スティック使うのに
それが使えないとまた任天堂だけサードからハブられることになり兼ねるだろ
-
- 207 名前: 名無しオレ的ゲーム速報さん 2016年07月07日 19:44 返信する
- スマホかよwww
-
- 208 名前: 名無しオレ的ゲーム速報さん 2016年07月07日 19:46 返信する
- 携帯機と据置機…ださださ
-
- 209 名前: 名無しオレ的ゲーム速報さん 2016年07月07日 19:46 返信する
-
>>206
…
サードから嫌われてるのは元々だ…
-
- 210 名前: 名無しオレ的ゲーム速報さん 2016年07月07日 19:46 返信する
-
>>3
任天堂ハードなんてパクったら爆死するだろ
-
- 211 名前: 名無しオレ的ゲーム速報さん 2016年07月07日 19:47 返信する
-
もしかして本当にNXゼルダは劣化版ってオチ来るぅ〜?w
-
- 212 名前: 名無しオレ的ゲーム速報さん 2016年07月07日 19:47 返信する
- あっまた携帯機路線かな?
-
- 213 名前: 名無しオレ的ゲーム速報さん 2016年07月07日 19:48 返信する
-
>>211
クルゥ〜!!!(確信)
-
- 214 名前: 名無しオレ的ゲーム速報さん 2016年07月07日 19:49 返信する
- まぁ便座よりは…いいよねうん(´・ω・`)ゲームボーイミクロ好きだったわよ
-
- 215 名前: コイキング 2016年07月07日 19:52 返信する
- 魚の塩焼きって美味いよね
-
- 216 名前: 名無しオレ的ゲーム速報さん 2016年07月07日 19:53 返信する
- New 3DSやNew 3DS LLみたいにカードスロットが下画面の左端になるのかな
-
- 217 名前: 名無しオレ的ゲーム速報さん 2016年07月07日 19:59 返信する
-
>>195
それってどう考えても「3DSはPS3の数倍の性能」とか「wiiUはコントローラーだけでVITA以上の性能の携帯機として扱える」みたいな任天堂がハード発売時にいつもやる株価釣り上げ目的の噂という名目で工作員に流させてるデマだぞ
-
- 218 名前: 名無しオレ的ゲーム速報さん 2016年07月07日 20:01 返信する
- Androidか
-
- 219 名前: 名無しオレ的ゲーム速報さん 2016年07月07日 20:02 返信する
- 割りと真面目な話、3DSの解像度上げてアンドロイドでも搭載すりゃいいと思う。変なギミックは要らんて。任天堂しか使わないんだから
-
- 220 名前: 名無しオレ的ゲーム速報さん 2016年07月07日 20:02 返信する
-
また右スティック、オミットしちゃうの?
個人事業ではないんだから過去から学べよ?
-
- 221 名前: 名無しオレ的ゲーム速報さん 2016年07月07日 20:05 返信する
-
>>214
GBミクロって画面小さすぎでキャラが米粒
ボタンとかも操作が苦でしかなかったなぁ
-
- 222 名前: 名無しオレ的ゲーム速報さん 2016年07月07日 20:05 返信する
-
どっちにしろモンハンはPSにこねえからww
ざまぁ
ついでにFFも奪っちまおう
ゴキブリの発狂が聞こえるわ
静かにしろよw
迷惑だぜ
-
- 223 名前: 名無しオレ的ゲーム速報さん 2016年07月07日 20:07 返信する
-
>>222
FF?また妄想始まったよ(´・ω・`)
-
- 224 名前: 名無しオレ的ゲーム速報さん 2016年07月07日 20:07 返信する
-
十字キーとアナログの位置入れかえろよ
どう考えてもソニースタイルの方が操作の拡張性が高いのに何故わざわざわ不便にするんだよ
無駄なプライドだわ
-
- 225 名前: 名無しオレ的ゲーム速報さん 2016年07月07日 20:07 返信する
-
>これがNXだとしたらこれでゼルダとかドラクエ11がちゃんと動くのか・・・??
一応ゼルダはNX版を目指して移植するよって宮本が言ってたな。まあどんだけ頑張ってもモバイル用にしかならんだろうが。
ドラクエ11は3DS版の移植になるだろうし楽に動くだろう。
-
- 226 名前: 名無しオレ的ゲーム速報さん 2016年07月07日 20:11 返信する
-
何でかたくなにツインスティックにしないんだろうな。
3DSはツインスティック版出してるだろうに。こんだけハードウェアの規格がバラバラだと互換とるにしてもソフトが大変だな。
-
- 227 名前: 名無しオレ的ゲーム速報さん 2016年07月07日 20:12 返信する
- オレもゲームボーイミクロを想像したわw
-
- 228 名前: 名無しオレ的ゲーム速報さん 2016年07月07日 20:12 返信する
- あぁこれなら要らないわ…
-
- 229 名前: 名無しオレ的ゲーム速報さん 2016年07月07日 20:12 返信する
-
ゼルダなんて元がショボイんだからゼルダ無双みたいに画質落として敵減らしたりすれば流石に3DSよりちょっと性能高い程度でも動くだろ
そもそもオープンエアーなんて逃げ道作り出した時点でwiiU版ですら一見オープンワールドに見えても一定範囲移動する度にロード入るなんてギャグになる可能性濃厚だし
-
- 230 名前: 名無しオレ的ゲーム速報さん 2016年07月07日 20:13 返信する
-
>>222
ホストホスト言いながらクレクレ???
-
- 231 名前: 名無しオレ的ゲーム速報さん 2016年07月07日 20:13 返信する
- 公式発表来たら、豚ちゃんたちはみんな、あの真顔AAみたいになりそうだねw
-
- 232 名前: 名無しオレ的ゲーム速報さん 2016年07月07日 20:14 返信する
-
おめでとう任天堂
そしてさようなら
-
- 233 名前: 名無しオレ的ゲーム速報さん 2016年07月07日 20:14 返信する
-
どこらへんが
特許なわけ??
-
- 234 名前: 名無しオレ的ゲーム速報さん 2016年07月07日 20:15 返信する
-
いやだからこの画像って随分前に出て否定されたヤツじゃん
何でまた出してそれに釣られるんだ?
-
- 235 名前: 名無しオレ的ゲーム速報さん 2016年07月07日 20:15 返信する
- w
-
- 236 名前: 名無しオレ的ゲーム速報さん 2016年07月07日 20:18 返信する
-
携帯機?
画面ちっちゃくね?w
まーた最初はわざと小さくして後にマイナーチェンジ売る魂胆かなw
-
- 237 名前: 名無しオレ的ゲーム速報さん 2016年07月07日 20:18 返信する
-
>>234
ん?
Jun.30,2016
-
- 238 名前: 名無しオレ的ゲーム速報さん 2016年07月07日 20:30 返信する
- すごく…奇形です…
-
- 239 名前: 名無しオレ的ゲーム速報さん 2016年07月07日 20:30 返信する
- これ、ゲームウォッチですやん
-
- 240 名前: 名無しオレ的ゲーム速報さん 2016年07月07日 20:31 返信する
-
ずい分前のと画面イメージズが同じなだけだよ
そこしか覚えてなかったのか
-
- 241 名前: 名無しオレ的ゲーム速報さん 2016年07月07日 20:35 返信する
- こんなのがNXなら草も生えない
-
- 242 名前: コイキング 2016年07月07日 20:38 返信する
- みんな僕ちゃんのたんしょーほーけー珍宝を見てみて触って‼
-
- 243 名前: 名無しオレ的ゲーム速報さん 2016年07月07日 20:39 返信する
-
こんなよくあるAndroidゲーム機みたいなのが
特許??
-
- 244 名前: 名無しオレ的ゲーム速報さん 2016年07月07日 20:42 返信する
-
>>3
ソニーの事だからパクりそう。
-
- 245 名前: 名無しオレ的ゲーム速報さん 2016年07月07日 20:43 返信する
-
え?スペックはGB時代?!ドッド絵?!
もしかして、復古版?
-
- 246 名前: 名無しオレ的ゲーム速報さん 2016年07月07日 20:43 返信する
-
>>228
お前はVitaでも遊んでろ。
-
- 247 名前: 名無しオレ的ゲーム速報さん 2016年07月07日 20:45 返信する
- 流石は任天堂。
-
- 248 名前: 名無しオレ的ゲーム速報さん 2016年07月07日 20:45 返信する
- コイキングとかいう奴、マジでなんなの…
-
- 249 名前: 名無しオレ的ゲーム速報さん 2016年07月07日 20:47 返信する
- スマホには参入しないって言ってたけど、任天堂のことだから誰も考えてなかったぐらいにドップリ参入しそう
-
- 250 名前: 名無しオレ的ゲーム速報さん 2016年07月07日 20:48 返信する
-
いや、あの
来年3月?とかに発売で、今、特許・・?
ないでしょw
-
- 251 名前: 名無しオレ的ゲーム速報さん 2016年07月07日 20:49 返信する
- それ以前に任天堂は7月8月9月の3か月間、何も遊ぶものがないWiiUユーザーを何とかして救済しないといけないんじゃないの??
-
- 252 名前: 名無しオレ的ゲーム速報さん 2016年07月07日 20:50 返信する
- へーそう
-
- 253 名前: 名無しオレ的ゲーム速報さん 2016年07月07日 20:54 返信する
- やっぱり任天堂は世界一の会社だわ!これは期待!ゴキども憤死!!
-
- 254 名前: 名無しオレ的ゲーム速報さん 2016年07月07日 20:55 返信する
- これがNXか
-
- 255 名前: 名無しオレ的ゲーム速報さん 2016年07月07日 20:59 返信する
- アイフォンよりちっこいのかね
-
- 256 名前: 名無しオレ的ゲーム速報さん 2016年07月07日 21:00 返信する
- 【悲報】NXの正体はゲームウォッチだった
-
- 257 名前: 名無しオレ的ゲーム速報さん 2016年07月07日 21:00 返信する
- 何かすごいやりにくそうなんだが
-
- 258 名前: 名無しオレ的ゲーム速報さん 2016年07月07日 21:06 返信する
-
>>3
スラパと十字キーの配置で解散w
うぬぼれるのも大概にしてくれよ・・・
-
- 259 名前: 名無しオレ的ゲーム速報さん 2016年07月07日 21:08 返信する
- 世界はVR業界のほうが気になります
-
- 260 名前: 名無しオレ的ゲーム速報さん 2016年07月07日 21:11 返信する
- PSVR>>>NXになる未来しか見えないな
-
- 261 名前: 名無しオレ的ゲーム速報さん 2016年07月07日 21:14 返信する
- 老害企業らしいじゃんw
-
- 262 名前: 名無しオレ的ゲーム速報さん 2016年07月07日 21:15 返信する
-
これNXのタッチコントローラーじゃね
WiiUより小さいコントローラーか〜( ^ω^ )
まぁ本体さえあればOKだな
処理とかは本体がやれば良いし
PS4より上だと思う
それとソフトはカードブリッジではなくダウンロードな
そうすれば特許料とか要らないし
容量規格はクラウドだね
で価格は3万円っと( ^ω^ )
-
- 263 名前: 名無しオレ的ゲーム速報さん 2016年07月07日 21:21 返信する
-
持ち運べるvitaTVだろ
スペックもそんなもんだろうし
vitaTVよりはマシだろうけど
-
- 264 名前: 名無しオレ的ゲーム速報さん 2016年07月07日 21:21 返信する
- スマホでよくね?
-
- 265 名前: 名無しオレ的ゲーム速報さん 2016年07月07日 21:22 返信する
-
>>170
情弱っていってる時点でくさいな
流石妊娠!!くさい!!
-
- 266 名前: 名無しオレ的ゲーム速報さん 2016年07月07日 21:26 返信する
- vita tv じゃん!
-
- 267 名前: 名無しオレ的ゲーム速報さん 2016年07月07日 21:30 返信する
-
>携帯機がコントローラーになる
アカン・・
-
- 268 名前: 名無しオレ的ゲーム速報さん 2016年07月07日 21:32 返信する
-
まさか携帯型の画面をコントローラーに嵌め込むとかしないよね?
-
- 269 名前: 名無しオレ的ゲーム速報さん 2016年07月07日 21:40 返信する
- これコントローラーのついたスマホだったら笑う
-
- 270 名前: 名無しオレ的ゲーム速報さん 2016年07月07日 21:43 返信する
-
任天堂「ゼルダNX版もWii U版と同じ体験ができるよう、現在鋭意制作しています」
まるでNXがWiiU以下の性能みたいな言い方してるけど、これやばくない?
-
- 271 名前: 名無しオレ的ゲーム速報さん 2016年07月07日 21:48 返信する
-
持ちやすいデザインにしてくんかな。
長時間やると疲れるんだよな。
-
- 272 名前: 名無しオレ的ゲーム速報さん 2016年07月07日 21:48 返信する
- VITAやん
-
- 273 名前: 名無しオレ的ゲーム速報さん 2016年07月07日 21:53 返信する
- 任天堂の切り札 1DSのコラ画像(拾いもの)
-
- 274 名前: 名無しオレ的ゲーム速報さん 2016年07月07日 21:53 返信する
- 任天堂また大失敗しそうな予感がする
-
- 275 名前: 名無しオレ的ゲーム速報さん 2016年07月07日 21:54 返信する
- こりゃ駄目だw
-
- 276 名前: 名無しオレ的ゲーム速報さん 2016年07月07日 22:06 返信する
-
DS半分に割ったの?ww
これで高性能とかありえないよね。
ぶーちゃんかわいそうだし嘘だと信じてあげたい。
-
- 277 名前: 名無しオレ的ゲーム速報さん 2016年07月07日 22:10 返信する
-
んー、これ3DSの後継ってことなのかね
なんかよくわからんね
まあ2画面は子供が開いたまま走ってこけたりでヒンジへし折る事故結構あったから、1画面の方がいいかもな
-
- 278 名前: 名無しオレ的ゲーム速報さん 2016年07月07日 22:10 返信する
- 東方pro系のゲーム出して欲しい
-
- 279 名前: 名無しオレ的ゲーム速報さん 2016年07月07日 22:11 返信する
- ネオジオポケットかと思った。
-
- 280 名前: 名無しオレ的ゲーム速報さん 2016年07月07日 22:11 返信する
- これでドラクエ10とか無理ゲー
-
- 281 名前: 名無しオレ的ゲーム速報さん 2016年07月07日 22:22 返信する
-
大分コメントが落ち着いたようなので、これで遊ぶのもまたよしかも。
┏━┳━━┳━┓
┣ヽ ̄ /(・ω・)┫
┣━━╋━╋━┫
┣、ハ,、\( \ノ┫
┗┻━━┻━┻┛
-
- 282 名前: 名無しオレ的ゲーム速報さん 2016年07月07日 22:24 返信する
- 一方ソニーとMSはios&Androidでも操作できるアプリを配信した・・・っておちになりそう
-
- 283 名前: 名無しオレ的ゲーム速報さん 2016年07月07日 22:29 返信する
-
>>176
裸眼立体視の機能は完全にお荷物だもんな
携帯機でのプレイにはあまりにも不向きだし開発にも無駄な手間がかかる
そんなゴミ機能なのに態々名称に「3D」と入れてまでアピールした任天堂は本当に無能なんだなだと思うよ
-
- 284 名前: 名無しオレ的ゲーム速報さん 2016年07月07日 22:48 返信する
-
最近の任天堂、具体的にはDSLiteの頃から気になってたんだけどね、コントローラの持ちやすさ、全く考えてないですよね。
おしゃれでかっこいいハードは二の次にしてくれ、ゲームしたいのに、指が釣るようなボタン配置、硬くて薄いスタイリッシュなパッド、兎に角握りにくいんだわ。
デュアルショックは何時間やっても指は疲れない、任天堂スタッフには3DSでロックマンシリーズとファンタジーゾーンシリーズのぶっ続けクリアをやってもらいたい。
いや、別にボタンを酷使するアクションやシューティングなら何でもいいから兎に角ぶっ続けでプレイしてもらいたい。フライハイの魔女と勇者シリーズでもいい。
指がどんなに疲れても休まず挑戦を最後までやり遂げ、己の指の声を聞いて感じてもらいたい。恐らく手は痺れ、指の先端の感覚は殆ど無くなっていることと思う。デュアルショックではそんな事態まずありえない。
次世代機はコントローラの握りやすさ、疲れにくさに最重要点を置く、ゲーム機として至極当然の事、お客の指が疲れてゲームを手放す、もうこれ、任天堂にとって自虐行為でありハンディキャップになってるからね。
性懲りも無く3DSやスマホみたいな硬くて薄い、おしゃれでスタイリッシュなパッド出してきたら承知せえへんからな!
-
- 285 名前: 名無しオレ的ゲーム速報さん 2016年07月07日 22:53 返信する
- タブコンじゃね?
-
- 286 名前: 名無しオレ的ゲーム速報さん 2016年07月07日 22:55 返信する
- なんやこりゃ
-
- 287 名前: 名無しオレ的ゲーム速報さん 2016年07月07日 22:57 返信する
- ん?スマホ?
-
- 288 名前: 名無しオレ的ゲーム速報さん 2016年07月07日 23:01 返信する
- なにこれ
-
- 289 名前: 名無しオレ的ゲーム速報さん 2016年07月07日 23:03 返信する
-
えっこれDSをオラァ!っつって割ったヤツやん
ワシのDSライトこれやで
-
- 290 名前: 名無しオレ的ゲーム速報さん 2016年07月07日 23:20 返信する
-
仮にコレが3万だとしてもバカがいっぱい買うんだから
問題無し
-
- 291 名前: 名無しオレ的ゲーム速報さん 2016年07月07日 23:25 返信する
-
任天堂の新ハードはやはりポンコツのガラクタだった!!!!!!!!!!
-
- 292 名前: 名無しオレ的ゲーム速報さん 2016年07月07日 23:37 返信する
- 任天堂の新ハードが大コケしそうで草
-
- 293 名前: 名無しオレ的ゲーム速報さん 2016年07月08日 00:01 返信する
- PSPのパクリやんけ
-
- 294 名前: 名無しオレ的ゲーム速報さん 2016年07月08日 00:02 返信する
-
据え置き機のコントローラーも兼ねるとして、どういう仕組みで動くのかが気になるわ。
要するにコイツは本体なわけ?
だとしたら性能は低くならざるをえんだろ。
別に本体あるとしたら糞ラグ地獄だし。
どっちにしてもコンセプトからして間違ってんな。
はい、解散。
-
- 295 名前: 名無しオレ的ゲーム速報さん 2016年07月08日 00:05 返信する
-
これがGBAの後継機か
DSはGBAとは別系統だと言っていたから、きっとこれがGBAの後継機だよな
-
- 296 名前: 名無しオレ的ゲーム速報さん 2016年07月08日 00:08 返信する
-
初期3DSみたいにかくばってるな
とりあえず二年は様子見しとくわ
-
- 297 名前: 名無しオレ的ゲーム速報さん 2016年07月08日 00:09 返信する
-
画面くらいはでかくしてほしい
画質くらいは良くしてほしい
任天堂はポケモンで世話になってるけど
がんばってほしいです
-
- 298 名前: 名無しオレ的ゲーム速報さん 2016年07月08日 00:25 返信する
- なんかネオジオXみたい
-
- 299 名前: 名無しオレ的ゲーム速報さん 2016年07月08日 01:35 返信する
- 「DS」の時代がやっと終わったか
-
- 300 名前: 名無しオレ的ゲーム速報さん 2016年07月08日 01:55 返信する
-
プロジェクター+本体の画面なのか?
それにしてもサークルパッドが2つじゃないのがおかしい。(右の方はタッチパッドなのか?)謎が多いがサブハードとメインハードがあってWiiUと3DSを足して2で割った感じなのか?
-
- 301 名前: 名無しオレ的ゲーム速報さん 2016年07月08日 02:00 返信する
-
スマホゲーも楽しいけど、タッチスクリーンのみは嫌
DSみたいにペン使用ならいいけど指は尚更…
やっぱりボタンがいい
-
- 302 名前: 名無しオレ的ゲーム速報さん 2016年07月08日 02:00 返信する
- 懐かしのゲームウォッチやん。
-
- 303 名前: 名無しオレ的ゲーム速報さん 2016年07月08日 03:17 返信する
- 携帯ゲームは無理だとあれほど言ったのに
-
- 304 名前: 名無しオレ的ゲーム速報さん 2016年07月08日 05:01 返信する
- ニセモノ対策に似た形の物を山ほど登録するんだよ毎度
-
- 305 名前: 名無しオレ的ゲーム速報さん 2016年07月08日 05:15 返信する
- 任天堂のゲームができる子供向けスマホキター
-
- 306 名前: 名無しオレ的ゲーム速報さん 2016年07月08日 07:17 返信する
- ゲハ脳を煽るクソ記事ばっか捏造してんじゃねぇよJIN豚が
-
- 307 名前: 名無しオレ的ゲーム速報さん 2016年07月08日 07:50 返信する
-
>>3
毎度のことで既に驚かない
-
- 308 名前: 名無しオレ的ゲーム速報さん 2016年07月08日 08:19 返信する
- 前に出たコラスマホより出来悪くね?
-
- 309 名前: 名無しオレ的ゲーム速報さん 2016年07月08日 14:48 返信する
-
あー・・・これは例のショボいゼルダも本物だった可能性あるわー
っべーわー
-
- 310 名前: 名無しオレ的ゲーム速報さん 2016年07月08日 15:24 返信する
- 下のやつ2DSじゃなくって1DSかよ
-
- 311 名前: kai 2016年07月08日 17:05 返信する
- なんか既視感あるなと思ったら、まんま3dsの下画面やんけ・・・
-
- 312 名前: 名無しオレ的ゲーム速報さん 2016年07月09日 04:55 返信する
-
ゲームウォッチ?
-
- 313 名前: 名無しオレ的ゲーム速報さん 2016年07月09日 20:19 返信する
-
操作性が劣化したVITA???
-
- 314 名前: 名無しオレ的ゲーム速報さん 2016年07月10日 01:24 返信する
- え?これだけでNXを携帯ゲームだと勘違いしてるバカがいるの?NXゼルダの情報見ればすぐ分かるじゃん、携帯ゲーム機でオープンワールド?が出来る訳ないよね?この特許はコントローラーの特許でしょ。
-
- 315 名前: 名無しオレ的ゲーム速報さん 2016年07月11日 15:21 返信する
- 劣化vitaとか言ってる馬鹿いて草生えたわ。劣化WiiUじゃね?
コメントする
・NGワードはライブドア基準です。・スパム対策で「http://〜」はコメントできません。
・住所や電話番号等の個人情報は書込みしないでください。
・特定個人や特定団体を酷く誹謗・中傷するようなコメントは控えて下さい。
・ブログの運営を著しく妨害するようなコメントについては法的措置も検討しておりますのでご理解の上コメントをお願い致します。























コメントする
・NGワードはライブドア基準です。・スパム対策で「http://〜」はコメントできません。
・住所や電話番号等の個人情報は書込みしないでください。
・特定個人や特定団体を酷く誹謗・中傷するようなコメントは控えて下さい。
・ブログの運営を著しく妨害するようなコメントについては法的措置も検討しておりますのでご理解の上コメントをお願い致します。