
Amazonが「作業者の手の動きをトラッキングするリストバンド」の特許を取得 - Gigazine
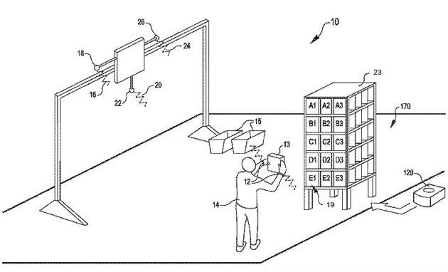
Amazonが倉庫内で作業を行う作業者の腕にリストバンドを取り付け、商品が納められている棚に設置されたセンサーを使って作業者の手の動きを検知することが可能なシステムの特許を取得。
「Ultrasonic bracelet and receiver for detecting position in 2d plane」(2次元の面における位置を検知するための超音波ブレスレットと受信機)
作業者が付けたブレスレットから超音波が発生し、その信号を複数のセンサーで感知。
時間差を計算して「三角測量」を行うことで、実際の作業者の手がどの位置にあるのかをトラッキングする。
出典:https://www.geekwire.com/2018/amazon-wins-patents-wireless-wristbands-track-warehouse-workers/
思わず「そこまでトラッキングして監視するのか……」と思ってしまいかねないこのシステム。
Amazonではこのシステムの目的について「作業者の負担を減らすため」としています。
以下、全文を読む
<この記事への反応>
休まず働け
技術の躍進は時として人類を必要以上に矯正しようとする
ディストピアの始まりである
作業動線の効率化による生産性の向上には限界があるように思う。
手元の動きだけですよ。
AIの学習用だろ
Amazon曰く、無駄な作業を減らして「作業者の負担を減らすため」と言ってるけど、真の目的は「作業者を減らすため」かも。つまり、人の動きをそのまま再現する人型ロボットに据え置く計画(陰謀)かもね…
お手つきは減点?
というより、間違えやすいところの把握がポイントなんだろうなぁ。
手の動きをトレースできるだけのデータが集まれば、ロボットに置き換えて人間は用済みか。
まだロボットはできてなくても、そういう仕様の特許はもう出していそうだな。
何考えてるんでしょうねぇ
今日も我が社と社会貢献の為に精一杯頑張るお!!

ところでやる夫君、昨日の12時23分辺りから5分ほど手が止まってたね?給料は覚悟しておくように


![]() | からかい上手の高木さん 8 フィギュア付き特別版 (特品) 発売日:2018-02-07 メーカー:小学館 カテゴリ:Book セールスランク:132 Amazon.co.jp で詳細を見る |
![]() | モンスターハンター:ワールド - PS4 発売日:2018-01-26 メーカー:カプコン カテゴリ:Video Games セールスランク:1 Amazon.co.jp で詳細を見る |
[ 雑談・その他の話の記事一覧 ]
今週の人気記事
その他おすすめサイト
この記事へのコメント
-
- 1 名前: 名無しオレ的ゲーム速報さん 2018年02月03日 15:00 返信する
- あしゅ
-
- 2 名前: マッスルウィザード 2018年02月03日 15:00 返信する
-
【魔法使いと黒猫のウィズ】
完全新イベント!!【シュガーレスバンビーナ】開催
!
「人のまま大人になれない」「もう大人にならない」その言葉にどんな意味が込められているのか?!
ヴィタ・バビーナ(CV:久保ユリカ)が、チェチェ・ウルラーレ(CV:高野麻里佳)が、マチア・レローシェ(CV:島袋美由利)がドッタンバッタンの大騒ぎ!!
もう止まらない、もうやるしかない!そこに愛はある!
-
- 3 名前: 名無しオレ的ゲーム速報さん 2018年02月03日 15:01 返信する
- ∧__∧ (´∀`) (⊃⌒ด้้้้็็็็็้้้้้็็็็็้้้้้้้้็็็็็้้้้้็็็็็้้้้้้้้⌒⊂) /_ノωヽ_)
-
- 4 名前: 名無しオレ的ゲーム速報さん 2018年02月03日 15:01 返信する
-
うーんこの動きはトイレ行ってたね
しかも大きい方かなとか言われちゃうのか
-
- 5 名前: 名無しオレ的ゲーム速報さん 2018年02月03日 15:01 返信する
- 奴隷システムw
-
- 6 名前: カイザースラウテルン 2018年02月03日 15:02 返信する
-
>>1これ俺だから!
また1コメを取ってしまったな。
敗北を知りたい!
俺が書いた証拠にあしゅって書き込みしたから!
-
- 7 名前: 名無しオレ的ゲーム速報さん 2018年02月03日 15:03 返信する
- 労働のよろこびAA本当にすこ
-
- 8 名前: 名無しオレ的ゲーム速報さん 2018年02月03日 15:03 返信する
- 機械が自動でやってくれるようになればいいねえ
-
- 9 名前: 名無しオレ的ゲーム速報さん 2018年02月03日 15:03 返信する
-
これあつしゅにつけてたら
あるところばかりいじくってるじゃんみたいな感じになるだろ😭😂
wwwwwwwwwwwwwwwwwwwwwwwwwwwwwwwwwwwww
-
- 10 名前: 名無しオレ的ゲーム速報さん 2018年02月03日 15:04 返信する
-
>>6
雑魚
-
- 11 名前: リチャードソンジリス 2018年02月03日 15:04 返信する
- プレーリードッグ可愛スギィ(≧Д≦)
-
- 12 名前: 名無しオレ的ゲーム速報さん 2018年02月03日 15:05 返信する
-
馬車馬システムだね。
バイトや派遣を切る用途にしか使われないな。
-
- 13 名前: 名無しオレ的ゲーム速報さん 2018年02月03日 15:05 返信する
- 変なことしたら爆破やぞ
-
- 14 名前: 名無しオレ的ゲーム速報さん 2018年02月03日 15:05 返信する
- これで収集したデータを元にAIを開発して作業員はお払い箱か
-
- 15 名前: 名無しオレ的ゲーム速報さん 2018年02月03日 15:05 返信する
-
>ところでやる夫君、昨日の12時23分辺りから
昼休みもないんかい
-
- 16 名前: 名無しオレ的ゲーム速報さん 2018年02月03日 15:06 返信する
-
>>1
カイザー、お前名前を書こうとすると予測変換で出るじゃねえか!
すげえな!
-
- 17 名前: 名無しオレ的ゲーム速報さん 2018年02月03日 15:07 返信する
- ギギの腕輪
-
- 18 名前: 名無しオレ的ゲーム速報さん 2018年02月03日 15:08 返信する
- シコシコしても大丈夫かな
-
- 19 名前: 名無しオレ的ゲーム速報さん 2018年02月03日 15:09 返信する
-
日本だとペナルティを課す為に使う(それしか使い道を思いつかない)んだろうけど、
アメリカだとどうなんだろうな
-
- 20 名前: 名無しオレ的ゲーム速報さん 2018年02月03日 15:09 返信する
-
>>18
あつしゅなんでや
-
- 21 名前: 名無しオレ的ゲーム速報さん 2018年02月03日 15:09 返信する
- 上層部はこれを監視する仕事ってか?
-
- 22 名前: 名無しオレ的ゲーム速報さん 2018年02月03日 15:10 返信する
-
マネージャー「>>18くん、30分ぐらい同じポイントで手が動いてたんだがなにしてたんだ?」
-
- 23 名前: 名無しオレ的ゲーム速報さん 2018年02月03日 15:10 返信する
- Amazonは便利だけど、Amazonで働きたくは無いね
-
- 24 名前: 名無しオレ的ゲーム速報さん 2018年02月03日 15:11 返信する
- マイプロの梱包の酷さ叱ってやってくださいAmazonさん
-
- 25 名前: 名無しオレ的ゲーム速報さん 2018年02月03日 15:11 返信する
-
>>1
カイザースラウテルン1コメおめでとう!
-
- 26 名前: 名無しオレ的ゲーム速報さん 2018年02月03日 15:12 返信する
- また特許のせいで腕の動きを記録する技術が封じられるのか
-
- 27 名前: 名無しオレ的ゲーム速報さん 2018年02月03日 15:12 返信する
- つまりあつしゅはスポイルラビットと言う事でOK?
-
- 28 名前: 名無しオレ的ゲーム速報さん 2018年02月03日 15:12 返信する
- 仕事中に自慰するとばれるわけですね
-
- 29 名前: 名無しオレ的ゲーム速報さん 2018年02月03日 15:12 返信する
- 議員や官僚に付けさせろよ
-
- 30 名前: 名無しオレ的ゲーム速報さん 2018年02月03日 15:12 返信する
-
カイザースラウテルンいちこめおめでと
-
- 31 名前: 名無しオレ的ゲーム速報さん 2018年02月03日 15:13 返信する
- 科学的管理法の再来やね。何年後に開発者が裁判所に引きずり出されるか・・・
-
- 32 名前: 名無しオレ的ゲーム速報さん 2018年02月03日 15:13 返信する
- 任天堂がパクる予感!
-
- 33 名前: 名無しオレ的ゲーム速報さん 2018年02月03日 15:14 返信する
-
amazonってこういうシステム大好きだよな
-
- 34 名前: 名無しオレ的ゲーム速報さん 2018年02月03日 15:15 返信する
-
近い将来ハローワーク職員もAIになるだろし
今ニートしてる奴は大変だな
-
- 35 名前: 名無しオレ的ゲーム速報さん 2018年02月03日 15:17 返信する
- 首輪システムキタ━(゚∀゚)━! (
-
- 36 名前: アッシュ™ 2018年02月03日 15:19 返信する
- 俺はダーティハリー
-
- 37 名前: 名無しオレ的ゲーム速報さん 2018年02月03日 15:20 返信する
-
>>36
おまえはダーティアンゴラだよ😭😂
-
- 38 名前: 名無しオレ的ゲーム速報さん 2018年02月03日 15:23 返信する
- でもお前らベーシックインカムには反対なんだよな
-
- 39 名前: 名無しオレ的ゲーム速報さん 2018年02月03日 15:24 返信する
-
>>5
これごときのシステムで奴隷とか言っちゃうゴミニートw
-
- 40 名前: 名無しオレ的ゲーム速報さん 2018年02月03日 15:24 返信する
- なるほど社畜の管理を徹底的に行う装置か
-
- 41 名前: 名無しオレ的ゲーム速報さん 2018年02月03日 15:26 返信する
-
3秒以内に手が動かなきゃアラームが鳴るとかありそう
日本でも廊下を早歩きしないとアラームなる企業とかあったしな
-
- 42 名前: 名無しオレ的ゲーム速報さん 2018年02月03日 15:26 返信する
-
給料泥棒をクビにする素晴らしい技術だと思うけど?
サボりを辞めさせて真面目なやつを入れればみんなの仕事が楽になって早く帰れる
-
- 43 名前: 名無しオレ的ゲーム速報さん 2018年02月03日 15:26 返信する
-
AIの為だろ
お前らの発想は本当に時代遅れの日本人らしいよな
-
- 44 名前: 名無しオレ的ゲーム速報さん 2018年02月03日 15:26 返信する
- 従来の倉庫システムでは、作業者は商品を棚に補充したり、逆に棚からピッキングして取りだした時にボタンを押したりバーコードをスキャンしたりといった作業を必要があるなど、作業に付帯する余分な手順を行う必要がありました。この特許技術では、それらの作業を減らすことで負担を軽減することを狙っているようです。
-
- 45 名前: 名無しオレ的ゲーム速報さん 2018年02月03日 15:27 返信する
- 真面目な奴を探すコストより機械にやってもらった方が安くつくから
-
- 46 名前: 名無しオレ的ゲーム速報さん 2018年02月03日 15:27 返信する
- 恐ろし過ぎるこんな所で良く働けるわ
-
- 47 名前: 名無しオレ的ゲーム速報さん 2018年02月03日 15:28 返信する
- ちょっと前まで世界で一番のブラック企業って言われてたやん
-
- 48 名前: 名無しオレ的ゲーム速報さん 2018年02月03日 15:29 返信する
-
わざわざ非効率な人型ロボットに置き換える意味はないだろ
やるなら専用の作業用ロボット
-
- 49 名前: 名無しオレ的ゲーム速報さん 2018年02月03日 15:31 返信する
- この時間帯の1分だけ右手だけがやたら動いてんだけど、君早すぎない?
-
- 50 名前: 名無しオレ的ゲーム速報さん 2018年02月03日 15:32 返信する
-
ブラック企業がどうのこうのとちらついてるだろうけど、
これ目的はむしろ手の動きの情報収集で、将来的なAIでの運用に関係するんだと思うで。
-
- 51 名前: 名無しオレ的ゲーム速報さん 2018年02月03日 15:33 返信する
-
作業者の負担を減らすため以外に何があるって言うんだ?
-
- 52 名前: 名無しオレ的ゲーム速報さん 2018年02月03日 15:34 返信する
-
データ取って効率が良いやり方にするんだろ。
最終的に人員は減るかもしれんがw
-
- 53 名前: 名無しオレ的ゲーム速報さん 2018年02月03日 15:36 返信する
- ピッキング作業の機械化の為だろうな
-
- 54 名前: 名無しオレ的ゲーム速報さん 2018年02月03日 15:36 返信する
- 真っ先に死ぬまで働かせる発想が出るあたりブラック大国日本らしいと言える
-
- 55 名前: 名無しオレ的ゲーム速報さん 2018年02月03日 15:36 返信する
-
これを社畜扱いしてるのはガイジだろ
あくまでも広い倉庫の中、大勢の従業員を管理するため
お前ら目視だけで全員管理できるの?
-
- 56 名前: 名無しオレ的ゲーム速報さん 2018年02月03日 15:38 返信する
-
だってお前ら死ぬまで働くから仕方ないだろ
訴えもしないだもん
-
- 57 名前: 2018年02月03日 15:39 返信する
- ���Υ������ȤϺ��������ޤ�����
-
- 58 名前: 2018年02月03日 15:39 返信する
- ���Υ������ȤϺ��������ޤ�����
-
- 59 名前: 名無しオレ的ゲーム速報さん 2018年02月03日 15:40 返信する
- ええやん!
-
- 60 名前: 名無しオレ的ゲーム速報さん 2018年02月03日 15:42 返信する
-
>>35
「作業者の負担を減らすため」
-
- 61 名前: 名無しオレ的ゲーム速報さん 2018年02月03日 15:43 返信する
- 間違いが減るじゃん
-
- 62 名前: 名無しオレ的ゲーム速報さん 2018年02月03日 15:47 返信する
- AmazonのCDはだいたい割れている!
-
- 63 名前: 名無しオレ的ゲーム速報さん 2018年02月03日 15:48 返信する
- 学習させてロボットに置き換えていくのでは
-
- 64 名前: 名無しオレ的ゲーム速報さん 2018年02月03日 15:49 返信する
- これやるよりも機械で完全自動で荷物の管理を自動でできるようにした方が数百倍便利だろw
-
- 65 名前: 名無しオレ的ゲーム速報さん 2018年02月03日 15:50 返信する
- 特許で大儲け(笑)
-
- 66 名前: 名無しオレ的ゲーム速報さん 2018年02月03日 15:51 返信する
- ベゾスは効率化の鬼だからここまでやるのは必然
-
- 67 名前: 名無しオレ的ゲーム速報さん 2018年02月03日 15:54 返信する
-
は?12時23分って、昼食じゃねぇかよ!?
1時から労働時間だよ!
-
- 68 名前: 名無しオレ的ゲーム速報さん 2018年02月03日 15:57 返信する
- 機械化のデータ取りかあ…
-
- 69 名前: 名無しオレ的ゲーム速報さん 2018年02月03日 15:58 返信する
-
>>67
会社によって昼休み時間は違う
-
- 70 名前: 名無しオレ的ゲーム速報さん 2018年02月03日 16:03 返信する
- こわい
-
- 71 名前: 2018年02月03日 16:04 返信する
- ���Υ������ȤϺ��������ޤ�����
-
- 72 名前: 名無しオレ的ゲーム速報さん 2018年02月03日 16:06 返信する
- (´・ω・`) サボったら腕に電流が流れます
-
- 73 名前: 名無しオレ的ゲーム速報さん 2018年02月03日 16:07 返信する
- 東京の倉庫はほんま厳しい・・・
-
- 74 名前: 2018年02月03日 16:16 返信する
- ���Υ������ȤϺ��������ޤ�����
-
- 75 名前: 名無しオレ的ゲーム速報さん 2018年02月03日 16:16 返信する
- 隠れてHしたらバレるな
-
- 76 名前: 名無しオレ的ゲーム速報さん 2018年02月03日 16:28 返信する
- 盗難防止かと思ったけど違うの?
-
- 77 名前: 名無しオレ的ゲーム速報さん 2018年02月03日 16:30 返信する
-
>作業者が付けたブレスレットから超音波が発生し、その信号を複数のセンサーで感知
体に影響ないのかよ
-
- 78 名前: 名無しオレ的ゲーム速報さん 2018年02月03日 16:33 返信する
-
Amazonの倉庫は歩くと怒鳴られるからな
貧弱な坊やは覚悟しろよ
-
- 79 名前: 名無しオレ的ゲーム速報さん 2018年02月03日 16:36 返信する
-
被害妄想を煽るのはどうかと思う。
従業員を監視するのが目的なら普通にカメラを使うだろ。
-
- 80 名前: 名無しオレ的ゲーム速報さん 2018年02月03日 16:38 返信する
- それでもAmazonの方が日本のブラック企業よりまともだけどねw
-
- 81 名前: 名無しオレ的ゲーム速報さん 2018年02月03日 16:38 返信する
- みんな奴隷だよ!
-
- 82 名前: 名無しオレ的ゲーム速報さん 2018年02月03日 16:39 返信する
-
>>77
その理屈だと超音波で位置と距離測ってるイルカとかの動物全部病気ってことになるやん。
-
- 83 名前: 名無しオレ的ゲーム速報さん 2018年02月03日 16:40 返信する
-
サビ残ないし
長時間労働もないし
単純作業として見れば十分日本のブラック企業より給料高いし
全然ホワイトだよ
-
- 84 名前: 名無しオレ的ゲーム速報さん 2018年02月03日 16:52 返信する
-
最終的に人間の動きを学習したロボットに置き換えれば
確かに作業者の負担は減るな
無職になるとも言うが……
-
- 85 名前: 2018年02月03日 16:53 返信する
- ���Υ������ȤϺ��������ޤ�����
-
- 86 名前: 名無しオレ的ゲーム速報さん 2018年02月03日 16:56 返信する
- AI学習か盗難防止かな。
-
- 87 名前: 名無しオレ的ゲーム速報さん 2018年02月03日 16:57 返信する
-
※78
どこの倉庫か知らんが
俺がやってたアマ倉庫は基本歩きで走ると注意受けるぞ
とにかく怪我されたら色々と困るんだと思う
-
- 88 名前: 名無しオレ的ゲーム速報さん 2018年02月03日 16:57 返信する
- そのうち一定時間動きが停止したら電流が流れたりするようになるのかな
-
- 89 名前: 名無しオレ的ゲーム速報さん 2018年02月03日 17:05 返信する
- 奴隷に付ける鎖とかわらねえな
-
- 90 名前: 名無しオレ的ゲーム速報さん 2018年02月03日 17:10 返信する
-
実際にこういうレベルで作業効率を分析する手法は存在するんだよ
サーブリッグで調べてみ
奴隷だの何だのって過剰反応し過ぎな連中ばっかで笑える
-
- 91 名前: 名無しオレ的ゲーム速報さん 2018年02月03日 17:12 返信する
- そのうち業務外でも身に着ける事を強制されるんじゃね?
-
- 92 名前: 名無しオレ的ゲーム速報さん 2018年02月03日 17:12 返信する
- もはや機械の代用品www
-
- 93 名前: 2018年02月03日 17:13 返信する
- ���Υ������ȤϺ��������ޤ�����
-
- 94 名前: 名無しオレ的ゲーム速報さん 2018年02月03日 17:16 返信する
-
数ヵ月後
○分以上動いてなかったら腕輪が爆発するシステムを開発するのでした・・・・
-
- 95 名前: 名無しオレ的ゲーム速報さん 2018年02月03日 17:20 返信する
-
防犯とサボり防止もあるかと。
広い倉庫って、ヒドイのになると勤務時間中ずっと
どっかに隠れて、最初と最後だけ現れて帰ってくからな。
万引きも多そうだし。
-
- 96 名前: 名無しオレ的ゲーム速報さん 2018年02月03日 17:21 返信する
- 甘損て委託先の日・通の社員が糞らしいね
-
- 97 名前: 名無しオレ的ゲーム速報さん 2018年02月03日 17:42 返信する
- 監視っていうより、これ間違った商品取らないようにするためじゃね。
-
- 98 名前: 名無しオレ的ゲーム速報さん 2018年02月03日 17:42 返信する
- それに対して反対・労働組織もできない、おまえらって一体。
-
- 99 名前: 名無しオレ的ゲーム速報さん 2018年02月03日 17:47 返信する
-
頭化石の外野がごちゃクソぬかすせいで新しい事が出来ん典型例よな
お前(JIN)が詳細をよく知りもせんのに印象操作したせいで間に受けた無関係の人間のバッシングに遭って、ほんまに作業者の無駄手間を軽減出来るかもしれん案だだったもんがご破綻になったらお前どう責任取るん?おのれの発言が大多数の人間よりも断然影響力ある事くらい分かっとるやろ?何か確証があってモノぬかしとるんやろな?責任持てるんやろな?
-
- 100 名前: 名無しオレ的ゲーム速報さん 2018年02月03日 17:53 返信する
- 資本家の夢は「給料のいらない」従業員だっけ。
-
- 101 名前: 名無しオレ的ゲーム速報さん 2018年02月03日 17:53 返信する
- ここまでやるなら、ロボットに全てやらせろよ、完全に奴隷扱いじゃん
-
- 102 名前: 名無しオレ的ゲーム速報さん 2018年02月03日 18:09 返信する
-
ほーれみろ即効で真に受けるガイジで溢れとる
あのな、休憩時間やトイレでの挙動まで観察したら余裕の勝ち確で従業員に訴えられるん分かる?リストバンドなんやから簡単にパッと外せるやろが。現場から外れる際はリストバンドも外すに決まっとるやろガイジ
これは従業員の怠惰を指摘する為のもんやないねん
現状作業者にとってどういう無駄な手間があるかっていうのを現場におらん人間が知る為の措置や。そんで改善出来る工程が見つかれば対処したい(環境を改善して作業者の仕事を減らす事で回転上げたい)って事やろが
なんも知らんと邪推だけでモノ抜かす他人の不幸大好きガイジはしねや
-
- 103 名前: 名無しオレ的ゲーム速報さん 2018年02月03日 18:13 返信する
- 奴隷
-
- 104 名前: 名無しオレ的ゲーム速報さん 2018年02月03日 18:22 返信する
-
日本人はドMだからむしろ喜んでるよ😎
ここのコメ欄は在日が多いなぁ😈
-
- 105 名前: 名無しオレ的ゲーム速報さん 2018年02月03日 18:28 返信する
-
>>1
みんな聞いてる?こんな記事より大事なことだよ?
玉しゃぶりのアッシュから剥けチンのアッシュに改名します(´・ω・`)™️
-
- 106 名前: 名無しオレ的ゲーム速報さん 2018年02月03日 18:38 返信する
- amazon「おい蟻、あ、バイト君」
-
- 107 名前: 名無しオレ的ゲーム速報さん 2018年02月03日 18:42 返信する
-
アメは日本みたいなさらに奴隷化しようという考えじゃなく合理性で考えるからな
機械化か作業効率化だろうな
-
- 108 名前: 名無しオレ的ゲーム速報さん 2018年02月03日 19:05 返信する
- つーか見張るの大変だからだろ
-
- 109 名前: 2018年02月03日 19:29 返信する
- ���Υ������ȤϺ��������ޤ�����
-
- 110 名前: 名無しオレ的ゲーム速報さん 2018年02月03日 19:31 返信する
- 第2の秋葉通り魔事件起きそう
-
- 111 名前: 名無しオレ的ゲーム速報さん 2018年02月03日 19:36 返信する
- 生産工場の1日お試しみたいなのしたことあるけどこんな高度なシステムなくてもどんどん製品流れてきて息つく暇もなくて地獄やったわw
-
- 112 名前: 名無しオレ的ゲーム速報さん 2018年02月03日 19:44 返信する
-
その分金貰ってるから良いだろ
貰えない所すらあるんだぞ
-
- 113 名前: 名無しオレ的ゲーム速報さん 2018年02月03日 19:48 返信する
-
あれ?心拍数おかしくね? こいつサボってるな 監視カメラで見たろ
あれ?冷たい しんでる
パターンが出てきそうだな
-
- 114 名前: 名無しオレ的ゲーム速報さん 2018年02月03日 20:09 返信する
-
さすがブラック労働の本場
元はと言えば日本のブラックな働き方はアメリカからもたらされたものだしな
日本人は欧米と一括りにしているが、働き方がゆったりしてるのはヨーロッパであってアメリカは日本より長時間労働が当たり前だし労働者を守る法律すらないしかなりブラックだぞ
有給休暇が法律で規定されてすらいない
楽な働き方をしてるのは仕事に責任感がない低賃金ブルーカラー層だけ
-
- 115 名前: 名無しオレ的ゲーム速報さん 2018年02月03日 20:11 返信する
-
最近モンスター労働者が多からな
当然こうなっていく
しっかり時間守る変わりに稼働中は1秒も休ませない
-
- 116 名前: 名無しオレ的ゲーム速報さん 2018年02月03日 20:14 返信する
-
本当に最近はネットで聴きかじったなんでもブラックとか言うガキが多いから
どんどん監視を強めていくべきだと思う
普通に仕事頼んでもブラックとか言うからな
セクハラと同じノリで自分が嫌なことをブラックとか言ってる
-
- 117 名前: 名無しオレ的ゲーム速報さん 2018年02月03日 20:58 返信する
-
生産現場の改善ってこういうのの積み重ねで成り立つんやで
監視だの何だの騒ぎ立ててるバカは少し目線上げてみろよ
-
- 118 名前: 名無しオレ的ゲーム速報さん 2018年02月03日 21:21 返信する
- あとは横領抑えるためだろうな。
-
- 119 名前: 名無しオレ的ゲーム速報さん 2018年02月03日 21:26 返信する
- 最近のクソガキはすぐ盗むからこういうシステムは必要
-
- 120 名前: 名無しオレ的ゲーム速報さん 2018年02月03日 21:30 返信する
-
これは確かに作業者の負担を減らす為だな。
どこの会社もそうだけで、必ずサボる奴がいるから、その分他の社員が苦労する。
公平に働かせることで、真面目な人間が馬鹿を見ないで済む。
-
- 121 名前: 名無しオレ的ゲーム速報さん 2018年02月03日 21:46 返信する
- 人の手の動きを観測して、自動化するんでしょう。
-
- 122 名前: 名無しオレ的ゲーム速報さん 2018年02月03日 21:49 返信する
-
サボったりパクッたりする余地は元々ないので、別に監視用ではないよ
手の動きを見ることでさらに効率化したいだけだろ
-
- 123 名前: 名無しオレ的ゲーム速報さん 2018年02月03日 21:53 返信する
-
これで動きをコンピューターに覚えさせて
後々自動化狙ってるんだろ
-
- 124 名前: 名無しオレ的ゲーム速報さん 2018年02月03日 21:54 返信する
- 直視しなくても大体その辺へ手を伸ばせばブザーなりランプなりで目的の物を取れるようにするとかじゃないのか
-
- 125 名前: 名無しオレ的ゲーム速報さん 2018年02月03日 22:03 返信する
-
すげえアイデアやな
だからこそ世界一なんだよな
-
- 126 名前: 名無しオレ的ゲーム速報さん 2018年02月03日 22:04 返信する
- 普通に考えて無駄な動きを解析して店の商品の位置の効率化するためだろ
-
- 127 名前: 名無しオレ的ゲーム速報さん 2018年02月03日 22:05 返信する
-
監視用とか思ってる奴は永遠にパシリしか出来ないアホだろうな。
-
- 128 名前: 名無しオレ的ゲーム速報さん 2018年02月03日 22:55 返信する
-
サボリ監視係の作業量は劇的に軽減されるね
監視室でチェックするだけで済む
-
- 129 名前: 名無しオレ的ゲーム速報さん 2018年02月03日 23:36 返信する
- 画期的な開発をマイナスにしか見れないのかわいそう
-
- 130 名前: 名無しオレ的ゲーム速報さん 2018年02月04日 01:55 返信する
-
通販サイトの倉庫って日雇い派遣ばっかな影響もあって盗難も多いからね
ブラックっつーより防犯だと思う
-
- 131 名前: 名無しオレ的ゲーム速報さん 2018年02月04日 02:19 返信する
-
もうロボット使えよ
人間をなんだと思ってるんだ
-
- 132 名前: 名無しオレ的ゲーム速報さん 2018年02月04日 03:09 返信する
- そりゃ今の時代営業の外回りにGPS持たせるような企業山ほどあるのに
-
- 133 名前: 名無しオレ的ゲーム速報さん 2018年02月04日 14:36 返信する
-
そこまでトラッキングできるのなら正しい位置に誘導確認するまでシステム作らんと
負担軽減じゃなくてただの監視システムだな
-
- 134 名前: 名無しオレ的ゲーム速報さん 2018年02月04日 17:42 返信する
- サボり以外にも何か怪しい挙動してないかをチェックするのにも役立つんだろう
-
- 135 名前: 名無しオレ的ゲーム速報さん 2018年02月05日 09:25 返信する
- 無人店舗の客の手を動きをより詳細に取るための実証実験でしょ
-
- 136 名前: 名無しオレ的ゲーム速報さん 2018年02月05日 20:09 返信する
-
防犯用だろ
届いた荷物の中身に問題が有るトラブルは最近多い
-
- 137 名前: 名無しオレ的ゲーム速報さん 2018年02月06日 00:10 返信する
-
>人の手の動きを観測して、自動化するんでしょう。
>画期的な開発をマイナスにしか見れないのかわいそう
>監視用とか思ってる奴は永遠にパシリしか出来ないアホだろうな。
こういう工作員としか思えない書き込みが不自然に多い。
コメントする
・NGワードはライブドア基準です。・スパム対策で「http://〜」はコメントできません。
・住所や電話番号等の個人情報は書込みしないでください。
・特定個人や特定団体を酷く誹謗・中傷するようなコメントは控えて下さい。
・ブログの運営を著しく妨害するようなコメントについては法的措置も検討しておりますのでご理解の上コメントをお願い致します。






















コメントする
・NGワードはライブドア基準です。・スパム対策で「http://〜」はコメントできません。
・住所や電話番号等の個人情報は書込みしないでください。
・特定個人や特定団体を酷く誹謗・中傷するようなコメントは控えて下さい。
・ブログの運営を著しく妨害するようなコメントについては法的措置も検討しておりますのでご理解の上コメントをお願い致します。