
PS3時代の周辺機器をPS5と互換性もたせる特許をソニーが出願
今月新しく登録された特許によれば、ソニーはPS3時代に発売した周辺機器や携帯ゲーム機をPS5でも遊べるよう互換性をもたせようとしているようだ。
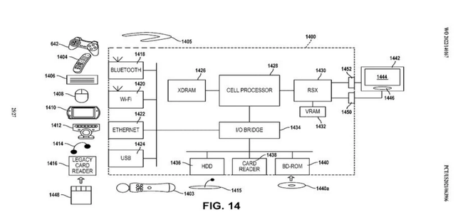
掲載されているハードは、「メディアリモート」や「デュアルショックコントローラー」「プレイステーションマウス」「プレイステーションアイ」「PSP Go」「プレイステーションムーブ」「メモリーカード」など。特許にはこれらをPS5上でエミュレーション動作させる仕組みが書かれてある。
PS3時代の周辺機器が多いことから、ソニーはPS5上でのPS3エミュレートに尽力していることが伺える。
※特許
https://patents.justia.com/patent/11360750
以下、全文を読む
<この記事への反応>
PS3タイトル爆増の予感
PS3時代のメディアリモート最高だったよな!パッチで再び使えるようになるなら金払ってもいい!
しかし特許がそのまま商品になるとは限らない
つーかPS5にPS3ディスク挿れたらプレイできるようしてくれ・・
昔のハンコンが再び使えるようになったら有り難いが
PS3関連の機器をPS5で使えるようにする互換性の特許・・・!?
これは一体・・・

↑でも言われてるけど、PS5にPS3のディスク入れたら遊べるようになったら最高なんだけどな・・・

![]() | 【PS5】The Last of Us Part I【予約特典】・ボーナスサプリメント ・ボーナス部品(封入)【Amazon.co.jp限定】アイテム未定 【CEROレーティング「Z」】 発売日:2022-09-02 メーカー:ソニー・インタラクティブエンタテインメント 価格:8690 カテゴリ:ビデオゲーム セールスランク:801 Amazon.co.jp で詳細を見る |
![]() | ペルソナ5 ザ・ロイヤル - PS5 発売日:2022-10-21 メーカー:アトラス 価格:6282 カテゴリ:ビデオゲーム セールスランク:300 Amazon.co.jp で詳細を見る |
今週の人気記事
その他おすすめサイト
この記事へのコメント
-
- 1 名前: 名無しオレ的ゲーム速報さん 2022年07月05日 11:33 返信する
- だが買わぬゴキブリ
-
- 2 名前: 名無しオレ的ゲーム速報さん 2022年07月05日 11:33 返信する
- 意味あるの?ソフトがエミュ出来ないのに
-
- 3 名前: 名無しオレ的ゲーム速報さん 2022年07月05日 11:34 返信する
- 要らね機能よりそろそろdpでモニタと繋がせてくれや
-
- 4 名前: 名無しオレ的ゲーム速報さん 2022年07月05日 11:34 返信する
- 今頃Jinは「独身40代友達なし問題」の記事をせっせと作ってるだろうなw
-
- 5 名前: 名無しオレ的ゲーム速報さん 2022年07月05日 11:34 返信する
-
ゴキちゃんそう言う事だよ。
でもさ、PS5本体持ってるの?
だが買わぬとか言ってたら
いつまで経っても買えないよ。
-
- 6 名前: 名無しオレ的ゲーム速報さん 2022年07月05日 11:39 返信する
- PS3のタイトルがPS5で遊べたらやれるタイトル爆増するもんな(PS3でしか出てない作品がたくさんあるから)
-
- 7 名前: 名無しオレ的ゲーム速報さん 2022年07月05日 11:39 返信する
- お前らの大好きなPS5記事なのにコメント数が伸びないな
-
- 8 名前: 名無しオレ的ゲーム速報さん 2022年07月05日 11:40 返信する
-
>>1
バ.イブだこれーーー!
-
- 9 名前: 名無しオレ的ゲーム速報さん 2022年07月05日 11:40 返信する
-
逆に今普通に買えるコントローラーを正式に昔のハードに使えるようにしてくれないか
バッタもん買うしか選択肢がないんだが?
-
- 10 名前: 名無しオレ的ゲーム速報さん 2022年07月05日 11:41 返信する
- しよーもないPS5
-
- 11 名前: 名無しオレ的ゲーム速報さん 2022年07月05日 11:42 返信する
- SwitchにWiiUのディスク入れたら動くようにしてほしい
-
- 12 名前: 名無しオレ的ゲーム速報さん 2022年07月05日 11:42 返信する
- いまさら
-
- 13 名前: 名無しオレ的ゲーム速報さん 2022年07月05日 11:42 返信する
- Vitaは除け者......
-
- 14 名前: 名無しオレ的ゲーム速報さん 2022年07月05日 11:42 返信する
-
PS3で出てたジャストコーズ2をPS5でやりたい
若しくはリマスターしてほしい
-
- 15 名前: 名無しオレ的ゲーム速報さん 2022年07月05日 11:43 返信する
-
>>11
だが買わぬゴキブリ
-
- 16 名前: 名無しオレ的ゲーム速報さん 2022年07月05日 11:44 返信する
- PS3とか何の名作もねえのに
-
- 17 名前: 俺的ゲーム速報の魔の手から任天堂を守る会 2022年07月05日 11:45 返信する
- いつまでPSやってんだよオワコン共www今はSwitchだろうがwww
-
- 18 名前: 名無しオレ的ゲーム速報さん 2022年07月05日 11:45 返信する
-
>>1
買わないと殺すぞ?
-
- 19 名前: 名無しオレ的ゲーム速報さん 2022年07月05日 11:45 返信する
-
>>15
買わないと殺すぞ?
-
- 20 名前: 名無しオレ的ゲーム速報さん 2022年07月05日 11:46 返信する
- PS5何もやるもんねえからPS3動けば多少はマシか
-
- 21 名前: 名無しオレ的ゲーム速報さん 2022年07月05日 11:47 返信する
-
いやsteamでやらせろ
PS5でできるようになってもPS5買わんわ
-
- 22 名前: 名無しオレ的ゲーム速報さん 2022年07月05日 11:47 返信する
-
>>19
はい通報
-
- 23 名前: 名無しオレ的ゲーム速報さん 2022年07月05日 11:48 返信する
- こんなの出されてもみんなPS5持って無いだろww
-
- 24 名前: 名無しオレ的ゲーム速報さん 2022年07月05日 11:48 返信する
-
それよかPS5のコントローラーをPS4で標準で使えるようにしてくれ。
PS4のコントローラー売ってねーんだよ!
-
- 25 名前: 名無しオレ的ゲーム速報さん 2022年07月05日 11:49 返信する
-
>>4
あいつはソニー信者のキモオタクソニートだから何を言っても無駄やぞ。
-
- 26 名前: 2022年07月05日 11:49 返信する
- ���Υ����ȤϺ���ޤ�����
-
- 27 名前: 名無しオレ的ゲーム速報さん 2022年07月05日 11:49 返信する
-
>>22
ネタにマジレスする奴キモ
-
- 28 名前: 名無しオレ的ゲーム速報さん 2022年07月05日 11:49 返信する
-
PS3で出てた頭文字Dやらせてくれ
それか新作出して
-
- 29 名前: 名無しオレ的ゲーム速報さん 2022年07月05日 11:49 返信する
-
>>16
そんなことないやろって言いたかったがすぐ思いつくのが無かった。。。
-
- 30 名前: 名無しオレ的ゲーム速報さん 2022年07月05日 11:49 返信する
-
>>22
空気読めカス
-
- 31 名前: 名無しオレ的ゲーム速報さん 2022年07月05日 11:50 返信する
- ガンコンを頼むわ。ガンシューティングはどこに行ってしまったんや….
-
- 32 名前: 名無しオレ的ゲーム速報さん 2022年07月05日 11:50 返信する
- PS3のアケコン使えるようにしてほしい
-
- 33 名前: 名無しオレ的ゲーム速報さん 2022年07月05日 11:51 返信する
-
それはまぁ ね
歴代ソニーハード(&スイッチ) 国内累計販売台数 2022年07月02日
2017年 NINTENDO SWITCH スイッチ 任天堂 2,511万台 ←←←
2000年 プレイステーション2 PS2 SCE 2,198万台
1994年 プレイステーション PS SCE 1,941万台(※出荷台数)
2006年 プレイステーション3 PS3 SCE 1,027万台 ←←← 実はPS4 PS5よりマシwwwwwww
2014年 プレイステーション4 PS4 SCE 939万台 ←←← 現ソニー歴代最低据え置きハード
2020年 プレイステーション5 PS5 SIE 170万台 ←←← 新ソニー歴代最低据え置きハード確定濃厚
-
- 34 名前: 名無しオレ的ゲーム速報さん 2022年07月05日 11:55 返信する
-
DS3はPS3のゲームをやれるだけかな? DS3でも45のゲーム操作できるなら
コントローラー高騰問題が一気に解消するじゃん
-
- 35 名前: 名無しオレ的ゲーム速報さん 2022年07月05日 11:56 返信する
-
PS5版エーペックスをPS4コントローラーで遊べるようにしてくれ
背面ボタンが無いんじゃ
-
- 36 名前: 名無しオレ的ゲーム速報さん 2022年07月05日 11:57 返信する
-
>>33
Switchなんて半分以上中国中心に他国行ってるし、もう販売台数アテにならんわ
PS5も国内で稼働してるのその数値の1-2割って言われても納得してしまう
-
- 37 名前: 名無しオレ的ゲーム速報さん 2022年07月05日 12:00 返信する
-
>つーかPS5にPS3ディスク挿れたらプレイできるようしてくれ・・
これはPSにPCEのCD入れて動作させろというに等しい
入れるメディアは似ていても中身は全然違う機械なんだよ
-
- 38 名前: 名無しオレ的ゲーム速報さん 2022年07月05日 12:03 返信する
- 今時ディスクでやらねえよ。スイッチ位だろ
-
- 39 名前: 名無しオレ的ゲーム速報さん 2022年07月05日 12:03 返信する
- そんなことよりps3本体の二つ目の新規アカウント作成できるようにしろ。
-
- 40 名前: 名無しオレ的ゲーム速報さん 2022年07月05日 12:05 返信する
-
>>35
DS5のプロ版出るって記事があっただろう
それか「SCUF INSTINCT PRO」のPS5対応版を買うといい
XBOXは純正のエリートパッドあきらめて社外品の高級パッドに任せたと思う
ただ「SCUF INSTINCT PRO」は下手するとPS5もう一台買えそうな価格だけどな
大人むけの高品質デバイス
-
- 41 名前: 名無しオレ的ゲーム速報さん 2022年07月05日 12:06 返信する
-
>>37
PS2にPS1のディスク入れたら動くし、PS3にPS2のディスク入れたら動くじゃん
やらないのは怠慢でしょ
-
- 42 名前: 名無しオレ的ゲーム速報さん 2022年07月05日 12:07 返信する
-
>>37
でもXboxは互換対応してるゲームならディスク読み込めるよね
-
- 43 名前: 名無しオレ的ゲーム速報さん 2022年07月05日 12:09 返信する
- ディスク互換、DL版互換なんてなさそう
-
- 44 名前: 名無しオレ的ゲーム速報さん 2022年07月05日 12:14 返信する
- ふぁああああPSP Goとか久しぶりにその名前みたぞ!
-
- 45 名前: 名無しオレ的ゲーム速報さん 2022年07月05日 12:17 返信する
-
PS2を出来るようにしてくれPS2したい層はまだいるんだ
PS3ならまだ動くやろPS2のケアをしろ
-
- 46 名前: 名無しオレ的ゲーム速報さん 2022年07月05日 12:24 返信する
-
PS1からPS5まで全機種後方互換できる上位機種出してくれよ
そしてそれをPSストア限定で受注生産してくれ
20万円くらいなら出すぞ
-
- 47 名前: 名無しオレ的ゲーム速報さん 2022年07月05日 12:30 返信する
-
>>42
あれはディスクで認証して移植版をDLしてるんやで
-
- 48 名前: 名無しオレ的ゲーム速報さん 2022年07月05日 12:32 返信する
- 現状プレミアムはPS3がストリーミングで順番待ちで話にならないレベル これが改善されればプレミアムに入るわ
-
- 49 名前: 名無しオレ的ゲーム速報さん 2022年07月05日 12:42 返信する
- トルネで録画しよう
-
- 50 名前: 名無しオレ的ゲーム速報さん 2022年07月05日 12:44 返信する
-
>>18
まず○✕決定 ごちゃ混ぜ解消せんと。
ソフト毎に設定でんき状態では無理
-
- 51 名前: 名無しオレ的ゲーム速報さん 2022年07月05日 12:45 返信する
- 決定ボタンをまるにせいや
-
- 52 名前: 名無しオレ的ゲーム速報さん 2022年07月05日 12:49 返信する
-
いらね〜
新作ゲームをやってるゲーマーなら昔のゲームがいかに駄目だったか理解してるもんだよ
普段ゲームやらない懐古ジジイだけだろ喜ぶのは
-
- 53 名前: 名無しオレ的ゲーム速報さん 2022年07月05日 12:49 返信する
-
これまでに何度互換動作の特許取ったんや?
もうNASAの緊急発表並みにクソどうでもいい
-
- 54 名前: 名無しオレ的ゲーム速報さん 2022年07月05日 12:51 返信する
-
それでいいならPS5ソフトでDualsochk4使わせてくれよ
Dualsenceクソすぎんだわ
-
- 55 名前: 名無しオレ的ゲーム速報さん 2022年07月05日 12:53 返信する
- PS3接続のメモリカードアダプタは持ってるので、過去のデータを入れて過去作が遊べたらええね。
-
- 56 名前: 名無しオレ的ゲーム速報さん 2022年07月05日 12:53 返信する
-
モーションコントローラーもう無いよ
あれのコントローラーを味わったら、普通コンではバイオ5とかもうできない
-
- 57 名前: 名無しオレ的ゲーム速報さん 2022年07月05日 12:56 返信する
-
>>54
Project DIVA などの音ゲーで遊んでると、ボタンが配置されてる辺りの筐体が凸ってるので、〇×□△全部押しがやりにくい。そこがフラットなDualshock4と偉い違い。
-
- 58 名前: 名無しオレ的ゲーム速報さん 2022年07月05日 12:57 返信する
- PS3のハンコン使えるようにしろ
-
- 59 名前: 名無しオレ的ゲーム速報さん 2022年07月05日 12:58 返信する
-
>>41
CPU(心臓)の鼓動のリズムが違うんだ
人間の体にネズミの脳ミソを繋いで記憶を再生しようとするのは無理があるんだな
互換を持たせるってことは心臓をいくつも搭載するってことなんだよ
その分コストがかさむ
PS5はPS4用に心臓の鼓動を調整する機能がある
だから出来ない事ではないが それを達成して儲かるほど昔のゲームがバンバカ売れるのか?問題
「儲かるんだぞ」と+プレミアムに参加して証明してやれ
-
- 60 名前: 名無しオレ的ゲーム速報さん 2022年07月05日 12:59 返信する
-
>>8
過去の栄光にすがるようになってきたら本気でやべえんだろうなと思う
-
- 61 名前: 名無しオレ的ゲーム速報さん 2022年07月05日 13:05 返信する
-
PS3になんか面白いソフトあったっけ?
1と2ならいっぱい思いつくけど
-
- 62 名前: 名無しオレ的ゲーム速報さん 2022年07月05日 13:12 返信する
-
PS3用のアケコンがPS4で使えなかったりしたからなー
あれでスト5やるのやめた俺としては
絶対に許さない
-
- 63 名前: 名無しオレ的ゲーム速報さん 2022年07月05日 13:18 返信する
- ハンコン使えるなら神アプデ
-
- 64 名前: 名無しオレ的ゲーム速報さん 2022年07月05日 13:21 返信する
- とうとう来ちゃうのか
-
- 65 名前: 名無しオレ的ゲーム速報さん 2022年07月05日 13:45 返信する
-
PS3エミュでPS5で起動できるように周辺機器のエミュレートを作ってんだろ
コネクタに互換ないんだから周辺機器を繋げるようにするとか無理だろwwwwwwwwwwwwwwwwwwwwwwwwwwwwwwwwwwwwwwwwwwwwwwwwwwwwwwwwwwwwwwwww
-
- 66 名前: 名無しオレ的ゲーム速報さん 2022年07月05日 13:53 返信する
-
>>1
そこまで悔しがらなくても
-
- 67 名前: 名無しオレ的ゲーム速報さん 2022年07月05日 13:55 返信する
-
>>4
俺的ゲーム速報@JINの管理人である野村○介はソニー関係会社のアニプレックスをクビになったファミコン世代の任天堂おじさんだし
※だからPS批判の記事ばかり載せる。逆に任天堂株を大量に保有しているので任天堂の批判記事は絶対に載せない
-
- 68 名前: 名無しオレ的ゲーム速報さん 2022年07月05日 13:58 返信する
-
>>5
ニンテンドースイッチも新型コロナと転売ヤーと中国人の大量購入で同じ状態だったのにな。やはり任豚は韓国人と同じでブーメランしか投げないし(完全に都合良く忘れる所も韓国人と同じ)
-
- 69 名前: 名無しオレ的ゲーム速報さん 2022年07月05日 14:01 返信する
- 日本仕様ですらないPSはもういらないんだ
-
- 70 名前: 名無しオレ的ゲーム速報さん 2022年07月05日 14:02 返信する
-
PS3のカマボコタイプを数台買ったら立て続けに壊れたぜ
もう限界に近いのかもな。
-
- 71 名前: 名無しオレ的ゲーム速報さん 2022年07月05日 14:10 返信する
-
ps1/2のメモリーカードが読めるヤツがその辺に転がってるけ
認識するようになったら、当時の続きが遊べたりするわけだな
-
- 72 名前: 名無しオレ的ゲーム速報さん 2022年07月05日 14:39 返信する
- マウスとキーボードの方が…よっぽど
-
- 73 名前: 名無しオレ的ゲーム速報さん 2022年07月05日 14:56 返信する
-
XBOX360のディスクどころか
初代箱のディスク入れても動くんだから
XSX/XSS買えば?
-
- 74 名前: 名無しオレ的ゲーム速報さん 2022年07月05日 15:12 返信する
-
PS5にPS3ディスク挿れたらプレイできるなら欲しいかも
無理なら必要ないかなPS5本体
-
- 75 名前: 名無しオレ的ゲーム速報さん 2022年07月05日 17:15 返信する
-
かわいそうなPS5・・・。
ゴキちゃんは「PS3でいいよね」ってはならんの?w
-
- 76 名前: 名無しオレ的ゲーム速報さん 2022年07月05日 17:16 返信する
- PS5の用途がレトロフリークっぽくなってきたな。
-
- 77 名前: 名無しオレ的ゲーム速報さん 2022年07月05日 17:58 返信する
-
>>29
アーマードコアフォーアンサー
-
- 78 名前: 名無しオレ的ゲーム速報さん 2022年07月05日 17:59 返信する
-
んな事はどーでもいいから
はよ一億台製造しろよ!
一億人のゲーマーがずっと待ってんだぞ!!!
-
- 79 名前: 名無しオレ的ゲーム速報さん 2022年07月05日 18:19 返信する
-
で?ディスコードの件はどうなりましたかね?
アレもこれも手を出して対応遅すぎんだよ
-
- 80 名前: 名無しオレ的ゲーム速報さん 2022年07月05日 19:13 返信する
- そんなんいいから○決定に戻してくれ
-
- 81 名前: 名無しオレ的ゲーム速報さん 2022年07月05日 19:37 返信する
-
機器の「エミュレート」なんか必要ではない
それはドライバの仕事であって、ドライバが
「この信号のときはこの機能」と覚えれば(ドライバをそのように作れば)
エミュレートではなく直に扱えるからだ
-
- 82 名前: 名無しオレ的ゲーム速報さん 2022年07月05日 19:40 返信する
-
モールス信号で例えれば
PS3時代のドライバは、「・・・・−−」が
○ボタンを押したときに出る信号(キーコード)であったとする
PS5は「−・−・−」が○で、PS3とは異なる
だから、そのままではOPS3時代のコントローラ類は使えないのだが
ドライバが「そうか、・・・・−−も○なんだ」と覚えれば、PS5はPS3時代のものも直に使えるようになる
-
- 83 名前: 名無しオレ的ゲーム速報さん 2022年07月05日 19:44 返信する
-
対応済みのゲームでディスク入れたら
ゲームをダウンロードしたら良いだけだろうけど
それじゃ美味しくないしな
-
- 84 名前: 名無しオレ的ゲーム速報さん 2022年07月05日 19:47 返信する
- PS5proにPS3との互換性持たせてくれればいいよ
-
- 85 名前: 名無しオレ的ゲーム速報さん 2022年07月05日 20:47 返信する
- PS3再販でいいよ
-
- 86 名前: 名無しオレ的ゲーム速報さん 2022年07月05日 21:02 返信する
-
>>61
メタルギアソリッドHDと4辺りかね
大多数に受けの良い良作は悉く後継機やPCに移植されているので、残されているのは俺は好きだけどねという隠れた名作ぐらいだな
-
- 87 名前: 名無しオレ的ゲーム速報さん 2022年07月05日 21:05 返信する
-
ディスク邪魔だろさすがに
-
- 88 名前: 名無しオレ的ゲーム速報さん 2022年07月05日 21:08 返信する
- 毎度のことだけどそのお金を次世代機の研究開発費に回してくれ
-
- 89 名前: 名無しオレ的ゲーム速報さん 2022年07月05日 21:36 返信する
- 周辺機器のエミュレーションも何も認証外してくれれば良いだけですが
-
- 90 名前: 名無しオレ的ゲーム速報さん 2022年07月05日 21:42 返信する
-
>>7
ゲーム関連記事は荒らしが湧かない
つまり、あっ
-
- 91 名前: 名無しオレ的ゲーム速報さん 2022年07月05日 21:44 返信する
-
>>16
メタルギアソリッド3
-
- 92 名前: 名無しオレ的ゲーム速報さん 2022年07月06日 01:00 返信する
- デジタルエディション組が発狂するから無理だろ
-
- 93 名前: 名無しオレ的ゲーム速報さん 2022年07月06日 01:24 返信する
-
トルネ使えるようにしてくれ。
そろそろPS3が逝く
-
- 94 名前: 名無しオレ的ゲーム速報さん 2022年07月06日 05:37 返信する
-
>>65
レガシーメモリーカードリーダーとか書いてあんの読めないの?
w一杯つけてる暇あったらもうちょい見ような
-
- 95 名前: 名無しオレ的ゲーム速報さん 2022年07月06日 08:25 返信する
-
>>92
あんなゴミ買うやつはいないだろwwww
2000万台のうち50万台とかじゃなかったか、割合
-
- 96 名前: 名無しオレ的ゲーム速報さん 2022年07月06日 21:29 返信する
-
>>91
それPS2や・・・
-
- 97 名前: 名無しオレ的ゲーム速報さん 2022年07月06日 23:59 返信する
- もはや過去の遺産しか縋るものが無いんよ
-
- 98 名前: 名無しオレ的ゲーム速報さん 2022年07月07日 00:14 返信する
-
結局あれだけ酷評だったフロントミッションエボルヴより
むせるTPSってあんまりないのな
-
- 99 名前: 名無しオレ的ゲーム速報さん 2022年07月07日 18:38 返信する
-
>>31
ガンコンは基本モニター側の問題で使えないんちゃうか
どれが例外がとかは知らんが
コメントする
・NGワードはライブドア基準です。・スパム対策で「http://〜」はコメントできません。
・住所や電話番号等の個人情報は書込みしないでください。
・特定個人や特定団体を酷く誹謗・中傷するようなコメントは控えて下さい。
・ブログの運営を著しく妨害するようなコメントについては法的措置も検討しておりますのでご理解の上コメントをお願い致します。





















コメントする
・NGワードはライブドア基準です。・スパム対策で「http://〜」はコメントできません。
・住所や電話番号等の個人情報は書込みしないでください。
・特定個人や特定団体を酷く誹謗・中傷するようなコメントは控えて下さい。
・ブログの運営を著しく妨害するようなコメントについては法的措置も検討しておりますのでご理解の上コメントをお願い致します。